中华人民共和国电力行业标准
火力发电厂锅炉炉膛安全
监控系统在线验收测试规程 DL/T655—1998
Code for online acceptance test of furnace safeguard
supervisory system in fossil fuel power plant
中华人民共和国电力工业部1998-03-19批准 1998-10-01实施
前 言
本规程是根据电力工业部技综[1995]44号文电力行业标准计划的安排制定的。
本规程是新编的电力行业标准。
本规程的附录A、附录B都是标准的附录。
本规程的附录C是提示的附录。
本规程由电力工业部热工自动化标准化技术委员会提出并归口。
本规程起草单位:西北电力试验研究院。
本规程主要起草人:苏耕。
本规程委托电力工业部热工自动化标准化技术委员会负责解释。
1 范围
本规程规定了火力发电厂锅炉炉膛安全监控系统在线验收测试的内容、方法及应达到的标准,适用于火力发电厂单机容量为300MW及以上机组锅炉炉膛安全监控系统订货合同和工程建设最终在线验收测试。单机容量200MW火电机组也可参照执行。
2 引用标准
下列标准所包含的条文,通过在本标准中引用而构成为本标准的条文。在标准出版时,所示版本均为有效。所有标准都会被修订,使用本标准的各方应探讨使用下列标准最新版本的可能性。
DL435—91 火电厂煤粉锅炉燃烧室防爆规程
DL5000—94 火力发电厂设计技术规定
JB/TS234—91 工业控制计算机系统验收大纲
SDJ279—90 电力建设施工及验收技术规范(热工仪表及控制装置篇)
电建[1996]第159号 火力发电厂基本建设工程启动及竣工验收规程
电规发[1996]第214号 单元机组分散控制系统设计若干技术问题规定
3 定义及缩略语
3.1 锅炉炉膛安全监控系统 furnace safeguard supervisory system(简称FSSS)
当锅炉炉膛燃烧熄火时,保护炉膛不爆炸(外爆或内爆)而采取监视和控制措施的自动系统。
FSSS包括燃烧器控制系统(burner control system,简称BCS)和炉膛安全系统(furnace safety system,简称FSS)。
3.2 炉膛吹扫 furnace purge
使空气流过炉膛、锅炉烟井及与其相连的烟道,以有效地清除任何积聚的可燃物,并用空气予以置换的过程。
3.3 炉膛压力开关 furnace pressure switch
当压力低于或高于预先设定值时,输出接点闭合(常开)或断开(常闭)信号的测量炉膛压力的装置。
3.4 设定值 set point
装置或设备为完成系统所要求的功能而预先设定的动作值。
3.5 总燃料跳闸 master fuel trip(简称MFT)
由人工操作或保护信号指令动作快速切断进入锅炉炉膛的所有燃料。
4 测试条件
4.1 FSSS本体及厂供设备出厂验收合格。
4.2 FSSS安装调试合格。
4.3 与FSSS相关的测量仪表、取源部件、就地执行机构等安装应符合SDJ279—90的有关规定。
4.4 锅炉本体与FSSS有关的主、辅设备可控。
4.5 FSSS的功能基本达到原设计要求,所有设备和功能应全部投入运行, 并随机组连续运行90天以上。
4.6 FSSS设计、制造、安装、调试、运行及故障处理等资料齐全、有效。
4.7 有关FSSS的运行操作、维护检修规程齐全。
4.8 FSSS装置的环境温度在18℃~30℃范围内,温度变化率小于5℃/h; 相对湿度在45%~80%范围内,任何情况下不许结露;振动振幅小于0.5mm;含尘量≤0.3mg/m3;照明距地面0.8m处照度不低于200lx。
4.9 测试方案和安全措施由接受验收测试单位有关部门根据试验内容、运行规程起草,与测试组共同商定,由总工程师批准。
4.10 测试仪器应包括:
a)多路开关量信号发生器,分辨力1ms。
b)多路模拟量快速记录仪,准确度等级0.5级。
c)数字万用表,分辨率
位。
以上仪器均应有在有效期内的检定合格证书。
5 功能测试
5.1 主逻辑测试
5.1.1 跳闸逻辑。跳闸条件全部接入系统,使接入的若干条件分别满足。观察并记录报警、跳闸及显示信息。
5.1.2 吹扫逻辑。吹扫条件应全部接入系统,使接入的若干条件逐一满足,待全部条件成立时,开始计时吹扫。观察、记录显示信息。
5.1.3 点火逻辑。使接入的若干条件逐一满足,待全部条件成立时,发出点火信号。观察、记录显示信息和动作情况。
5.1.4 连锁逻辑。MFT后连锁对象应正确动作。记录延时时间和顺序。
5.1.5 火焰检测和炉膛压力测量冗余逻辑测试。
5.2 燃烧器逻辑测试
5.2.1 快速减负荷(run back)时煤燃烧器的自动切除逻辑测试。
5.2.2 自动增负荷过程中煤燃烧器自动投入逻辑测试。
5.2.3 自动增负荷过程中油枪自动切除逻辑测试。
5.3 磨煤机组启停逻辑测试(可在顺序控制系统验收测试中进行)
5.3.1 磨煤机启停顺序测试。
5.3.2 磨煤机故障防爆逻辑测试。
a)满足防爆动作条件;
b)测试为防爆设置的快关闸(挡板)的关闭速度。
5.4 冷却风系统逻辑测试
5.4.1 停一台正在运行的冷却风机,记录连锁状态。
5.4.2 短接风压测量表,发冷却风压低信号,记录连锁状态。
5.5 首出跳闸原因记忆及分辨力测试
5.5.1 对于采用可编程控制器作为主机的,要求能记忆并显示首出跳闸原因。
5.5.2 对于进入分散控制系统的,要求能追忆跳闸的事件顺序。
5.5.3 事件顺序记录分辨力应小于1ms~2ms(按规定要求)。
5.6 动态试验
当5.6.1条~5.6.3条规定的动态试验实际已发生且数据记录完整,证明动作正确,可免做动态试验。
5.6.1 一台送风机跳闸试验
锅炉负荷不小于90%时,突然一台送风机跳闸,记录炉膛负压变化情况。一台送风机跳闸时不应引起MFT。
通过试验确认炉膛压力报警值、动作值是否恰当。
当|p报|<|p测|<<|p动|时,合格
式中:p报——炉膛压力报警值;
p动——炉膛压力跳闸值;
p测——试验时测得的最大炉膛负压值。
5.6.2 run back试验
锅炉负荷不小于90%,run back试验时,燃烧器切投正确,磨煤机组顺序控制正确,不发生MFT。
5.6.3 锅炉实际灭火试验
试验前应根据5.6.1条试验结果修正炉膛压力保护定值。
锅炉负荷80%时,由运行人员操作,停止全部给粉机、关闭燃油跳闸阀,造成灭火,考察火焰检测、压力测量系统及动作、显示信息。记录以下内容。
a)“锅炉灭火”信号发出时间。
b)“MFT跳闸”信号发出时间。
c)“燃料丧失”信号发出时间。
d)炉膛压力变化曲线。
e)炉膛火焰变化曲线(火焰检测器模拟量信号)。
f)检查跳闸事件顺序记录。
g)记录吹扫时间及过程情况。
h)检查、记录MFT跳闸后所有动作对象的状态。
6 性能指标测试
6.1 系统自检。人为设置一个硬件故障,启动自检程序,查看自检结果及显示信息。
6.2 火焰检测装置测试按下列要求进行:
a)全炉膛火焰检测 采用具有脉动频率的可见光检查。观察、记录火焰检测探头对闪烁光和平光的鉴别能力,以及对光强弱变化的敏感程度。
b)燃烧器火焰检测 采用切、投单个燃烧器的方法,直接观察记录显示情况。煤、油燃烧器各试两个。
c)火焰检测探头自检 正常运行时,在就地将任一火焰检测探头接线短路、开路各做一次, 观察、记录自检报警显示情况。
6.3 冷却风测试应满足下列要求:
a)任一火焰检测探头筒内冷却风与炉膛内的差压不小于1.0kPa,或按厂家规定。
b)流过每个探头的风量应大于1.0m3/min,或按厂家规定。
6.4 炉膛压力测量元件测试。接入FSSS跳闸条件回路的压力开关必须抽查测试,且各项指标均应合格。测试方法见附录C(提示的附录)C1。
6.5 燃油泄漏测试。关闭燃油快速安全关断阀和所有各油枪关断阀,启动试验按钮,打开快速安全关断阀建立油压,当油压达到规定值(实际运行值的120%)后,关闭快速安全关断阀,维持时间大于60s,压力下降不大于1%为合格。
6.6 跳闸顺序记录应正确无误。
最小分辨时间不大于1ms~2ms(按规定)。
测试方法参见附录C(提示的附录)C2。
6.7 电源测试按下列要求:
a)中断厂用交流电源,交流不停电电源切换时间不大于5ms,并应保证能对FSSS连续供电30min。
b)电源切换时,FSSS所有设备不得出现抖动或误动。FSSS所有设备在电源切换短时中断期间应处在安全位置。
7 抗干扰能力测试
7.1 进入分散控制系统的FSSS,抗干扰测试按分散控制系统抗干扰要求与其一并进行测试。
7.2 采用可编程控制器或其他控制装置独立组成的FSSS,做以下测试:
a)控制器地线与电气接地网只允许有一个连接点,且接地电阻不大于0.5Ω。
b)抗射频干扰。用发射功率5W、工作频率400MHz~500MHz的步话机,在距敞开柜门的控制机柜1.5m处工作,FSSS应能正常工作。
c)输入回路实测干扰电压应小于控制器要求的最大OFF电压的60%。
d)抽查测试输入回路的2%。
8 正确动作率、完好率和接入率的考核
8.1 FSS的正确动作率
8.1.1 FSS应进行正确动作率(C)的考核。FSS的正确动作率应不小于90%。
8.1.2 FSS正确动作率的统计工作自整套系统投入工作后即开始进行。开始计算正确动作率的时间可由供需双方商定,其间不允许解除跳闸条件。
8.1.3 FSS的正确动作率的统计期应不小于90天,且FSS跳闸次数达到5次。若在此期间,统计结果,正确动作率不合格,可将统计跳闸次数延长到10次,如果仍超过规定,则系统正确动作率判定为不合格。
8.1.4 FSS的正确动作率可按下列公式计算:
![]()
式中:n——正确动作次数。它是指考核统计期间FSS投入运行的情况下,并且仅当MFT条件成立引起机组跳闸的次数。
N——动作总次数。它是指考核统计期间FSS投入运行的情况下,FSS跳闸的总次数,它是正确动作次数和误动作(MFT条件不成立,由于其他非正常原因而引起FSS误跳机组)次数之和。
动作次数根据运行班志(依据计算机记录)确定。
8.1.5 FSS正确动作率统计期间不允许出现拒动,即MFT条件成立,而FSS没有发出跳闸命令。如果出现拒动,应在调准处理后重新进行考核。
8.2 BCS的完好率
8.2.1 BCS系统应进行完好率考核。BCS的完好率可分为单套系统的完好率(Fi)和整套系统的完好率(F)。
整套BCS的完好率应不小于90%。
8.2.2 BCS的完好率的统计工作自整套系统投入工作后即开始进行。开始计算完好率的时间可以由供需双方商定。
8.2.3 BCS的完好率的统计期应不小于90天,且BCS的使用次数达到5次。若在此期间,统计计算结果完好率不合格,可将统计使用次数延长到10次,如果仍超过规定,则系统完好率判定为不合格。
8.2.4 BCS的完好率可按下列公式计算:
![]()

式中:ni——第i套系统成功使用的次数。所谓成功使用是指该系统无故障的运行至顺序终了。
Ni——第i套系统使用的总次数。
使用总次数和成功使用次数根据运行班志(依据计算机记录)确定。
8.3 FSSS输入输出点接入率
8.3.1 FSSS输入输出点的接入率(J)应不小于99%。
8.3.2 FSSS输入输出点的接入率可按下列公式计算:
![]()
式中:I——已安装调试的输入输出点数;
D——设计的输入输出点数。
用于MFT的输入输出点必须全部接入。
8.4 FSSS输入输出点完好率
8.4.1 FSSS输入输出点的完好率(F)应不小于99%。
8.4.2 FSSS输入输出点的完好率可按下列公式计算:
![]()
式中:R——抽样检查的输入输出点中合格的点数;
K——抽样检查的输入输出点数,其中FSS的输入输出点应全部检查。
用于MFT的输入输出点必须全部检查合格。
附录A(标准的附录)
测 试 项 目
表A1 测试项目表
|
序号 |
分 类 |
测 试 内 容 |
要 求 |
结 果 |
|
1 |
主逻辑 |
跳闸逻辑 吹扫逻辑 点火逻辑 |
正确动作 正确动作 正确动作 |
|
|
2 |
火焰检测装置 |
冗余逻辑 |
正确动作 |
|
|
|
火焰检测器对光强弱的反应 |
灵敏正确 |
|
|
|
|
对光源脉动性的反应 |
10≤f(Hz)≤100(按规范) |
|
|
|
|
火焰检测探头视角φ |
φ≤5°(单个燃烧器) |
|
|
|
|
|
φ≥10°(全炉膛) |
|
|
|
|
自检 |
正确 |
|
|
|
|
探头筒温度t |
t≤70℃ |
|
|
|
3 |
冷却风 |
连锁逻辑 |
正确动作 |
|
|
风压p(动压) |
p≥1.0kPa |
|
||
|
风量q(每一火焰检测探头) |
q≥1.0m3/min(按规范) |
|
||
|
风温t |
t≤50℃ |
|
||
|
4 |
炉膛压力测量 (压力开关) |
冗余逻辑 |
正确动作 |
|
|
测量范围选择 |
合格 |
|
||
|
准确度 |
合格 |
|
||
|
动作曲线 |
合格 |
|
||
|
5 |
燃油泄漏 |
跳闸阀、角阀泄漏 |
合格 |
|
|
6 |
记忆分辨力 |
记忆范围 |
合格 |
|
|
顺序分辨力 |
≤1~2ms(按规定) |
|
||
|
7 |
燃烧器管理 |
油枪切投逻辑 |
正确动作 |
|
|
煤粉燃烧器切投逻辑 |
正确动作 |
|
||
|
8 |
磨组管理 |
顺序逻辑 |
正确动作 |
|
|
9 |
动态试验 |
一台送风机跳闸 |
正确报警 |
|
|
实际灭火 |
正确动作 |
|
||
|
run back |
燃烧器切投正确 |
|
||
|
10 |
电源 |
配置 |
合格 |
|
|
电源切换 |
合格 |
|
||
|
11 |
综合评价 |
I/O接入率J |
J≥99% |
|
|
I/O完好率F |
F≥99% |
|
||
|
BCS完好率F |
F≥90% |
|
||
|
FSS正确动作率C |
C≥90% |
|
附录B(标准的附录)
运 行 班 志
表 B1 运 行 班 志 摘 抄 表
|
时 间 年 月 日 时 分 |
动作前机组负荷 MW |
FSSS动作原因 |
是否正确动作 |
班 次 |
备 注 |
|
|
|
|
|
|
|
|
|
|
|
|
|
|
|
|
|
|
|
|
|
|
|
|
|
|
|
|
|
|
|
|
|
|
|
|
|
|
|
|
|
|
|
|
|
|
|
|
|
|
|
|
|
|
|
|
|
|
|
|
|
|
|
|
|
|
|
|
|
|
|
|
|
|
|
|
|
|
|
|
|
|
|
|
|
|
|
|
|
|
|
|
|
|
|
|
|
|
|
|
|
|
|
|
|
|
|
|
|
|
|
|
|
|
|
|
|
|
|
|
|
|
|
|
|
|
|
|
|
|
|
|
|
|
|
|
|
|
|
|
|
|
|
|
|
|
|
附录C(提示的附录)
有关项目测试方法
C1 炉膛压力开关测试方法
抽查现场安装或同型号规格的备品压力开关三台,做以下指标测试,合格率应为100%。测试时压力开关接点上外加电源电压必须与实际运行中电压一致。测试在实验室中进行。标准器采用在有效期内的二等补偿式微压计。

图 C1 压力开关动作曲线
a)测量范围。压力开关测量范围的上限值应为测量值(设定值)的120%~150%,下限值应为测量值(设定值)的20%~50%。
b)准确度。每台压力开关在设定值上重复校验两次,其动作值与设定值相对误差不大于1%[仅做正行程(上升)试验]。
c)温度特性。在室温下调校好定值后,将压力开关置于恒温箱内升至55℃,做b)条试验,相对误差应不大于1.5%。
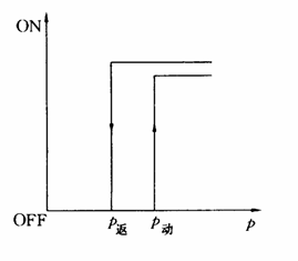
d)动作曲线。压力开关动作曲线应符合图C1。
图中,p动为压力开关动作值,p返为压力开关返回值。死区δ=|p动|-|p返|。
当p动×2%≤δ≤p动×6%时,合格。
C2 跳闸顺序及分辨力测试方法
用一台经校验合格的多路开关量信号发生器或一台小型可编程控制器,按要求编程:当输入一个脉冲信号后,可输出一组开关量信号,各信号时间间隔为1ms(通过程序可变)。将这组开关量信号分别接入跳闸条件回路。查看FSSS显示的首次跳闸原因或跳闸顺序是否与所加信号顺序一致,若不一致,将所加信号之间的时间间隔增大为2ms,再测试,直至测试出FSSS首次跳闸原因的最小分辨时间。
最小分辨时间应能稳定重现。