中华人民共和国能源部部标准
SD332—89
携带型短路接地线技术标准
中华人民共和国能源部 1989-03-27发布 1989-10-01 实施
1 总则
1.1 本标准适用于已停电的交流输变电系统和电气设备,220~500kV输电线路绝缘架空地线上及在试验室和试验设备上临时装设短路接地用的携带型短路接地线。
1.2 本标准不适用于在直流高压输电设备上所用的携带型短路接地线。
1.3 有关携带型短路接地线的设计、制造、质量检验和使用,均应符合本标准。当使用于爆炸危险场所还应遵守有关专业规定。
2 定义
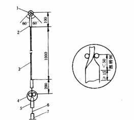
2.1 携带型短路接地线:将已停电设备临时短路接地用的一种安全用具,它可以 制成分相式和组合式(图1、图2)两种。
2.2 携带型短路接地线组成元件:
2.2.1 接地线:接地用多股铜质软导线。
2.2.2 短路线:相间短路用多股铜质软导线或铜质(铝质)矩形硬导线。
2.2.3 线夹,包括接线鼻:
2.2.3.1 接地端线夹:连接于接地网上或者接地端上的夹持器。
2.2.3.2 导线端线夹:连接于待接地导线上的夹持器。
2.2.3.3 接线鼻:线夹和短路线、接地线间的连接件。
2.2.4 汇流夹:短路线和接地线汇合线夹。
2.2.5 接地操作棒:装在导线端线夹上的绝缘手柄,用以悬挂、装卸线夹之工具。
2.2.6 临时接地极:当线路杆塔无接地装置时,利用金属棒构成的临时接地体。
2.2.7 导线端线夹紧固件。
2.2.8 接地操作棒上的紧固头。
2.2.9 金属棒:由导电材料制成,可以是单节或多节接续,装于导线端线夹和接地操作棒之间,当被接地设备较高和用于架空线路接地时,用以接长短路接地线的部件见图3。
2.3 技术参数:
2.3.1 携带型短路接地线的电气特性以额定短路电流I(kA)和额定时间t(s)来表示。
2.3.2 峰值电流IP:在被接地回路突然来电时,瞬变周期内最大电流值。
2.3.4 额定时间:携带型短路接地线承受短路电流的时间额定时间以1s为准。当保护动作时间不为1s时应按实际动作时间作为额定时间,这时,相应的额定短路电流值可按附录A换算。
2.3.5 携带型短路接地线任一导电部件应能承受额定短路电流周期分量有效值平方与额定时间的乘积I2t值。
3 技术要求
3.1 按使用要求装设的携带型短路接地线应能承受设计规定的故障电流,而不致对工作人员造成电气、机械、化学和热的危害。
3.2 在规定使用周期内,携带型短路接地线应能经受正常使用时的磨损和扯拉,而不改变其原有特性。
3.3 正常使用时的环境温度分为-25~+55℃和-40~+55℃两档,特殊使用环境温度由制造厂和用户商定。
3.4 携带型短路接地线在通过短路电流后,一般应予报废。
3.5 携带型短路接地线的选择应按所在电力系统实际最大短路容量决定,接地线和短路线相配的最小截面见表1。
3.6 短路线和接地线:携带型短路接地线的短路线和接地线应为多股铜质软绞线或编织线,并应具有柔软和耐高温的特点,绞线应外覆透明绝缘层,即护层。

图1 分相式携带型短路接地线
1—导线端线夹;2—短路线;3—接地端线夹;4—接地操作棒;
5—接地操作棒护环(手柄限位标志);6—导线端线夹紧固件;
7—接地操作棒上紧固头;8—多股软导线上的线鼻

图2 组合式携带型短路接地线
1—导线端线夹;2—短路线;3—接地引线;4—接地端线夹;
5—接地操作棒;6—接地操作棒上护环(手柄限位标志);
7—导线端线夹紧固体;8—接地操作棒上紧固头;
9—汇流夹;10—多股软导线上的线鼻

图3 金属棒使用示意图
1—导线端线夹;2—接长用金属棒(单节或多节组成);
3—金属棒端部的夹紧件;4—接地操作棒上的紧固头;5—短路线
表1 接地线与短路线的最小截面
|
短路用铜导线截面(mm2) |
接地用铜导线截面(mm2) |
|
16 |
16 |
|
25 |
25 |
|
35 |
25 |
|
50 |
25 |
|
70 |
35 |
|
95 |
35 |
|
≥120 |
50 |
注:①截面16mm2只用于500V及以下线路和绝缘架空地线上。
②用于直接接地系统时,接地线截面应取与短路线同一截面值。
护层材料应柔韧,在使用温度范围内,不龟裂,护层厚度不小于1.0mm。
3.7 携带型短路接地线的线夹的要求。
3.7.1 线夹可用铜或铝质合金材料制成,材质特性应符合下列标准:
材质 铜质 铝质合金
抗拉强度不小于(MPa) 207 207
屈服强度不小于(MPa) 90 138
伸长率不小于(%) 6 1.5
3.7.2 线夹应保证其与电力设备及接地体的连接处电气接触良好,并应符合短路电流作用下的动、热稳定的要求。
线夹主接触部分的钳口可制成平面式和颚状式。钳口的紧固力应不致损坏设备导线或固定接地点。
3.7.3 线夹应和接线鼻一起配套供应,接线鼻可用铜质或铝质合金制成,其尺寸应和短路线、接地线的截面,线夹的尺寸相匹配。线夹和软绞线部分的连接可以是压接,也可以钎焊。
3.7.4 导线端线夹可随所配接地线(短路线)截面大小分成若干规格,线夹钳口的开度应能满足产品所规定的待接地导线的截面范围。钳口主接触面尺寸应保证在产品规定的额定短路电流、额定承受短路时间,额定机械力矩下可靠的工作。
3.7.6 导线端线夹应附有线夹紧固件,它可以用接地操作棒方便地操作,线夹紧固件和接地操作棒的连接可以制成固定式和活动式(即临时装折式)两种。
3.8 接地操作棒应用绝缘材料制成,接地操作棒的最小尺寸应按待接地设备和导线的额定电压下安全作业的要求选择。握手部分和工作部分交接处应有护环或明显标志,接地操作棒的尺寸、绝缘特性和机械强度见表2、表3、表4。
表2 接地操作棒尺寸
|
各种不同电压等级设备名称 |
长 度 (mm) |
||
|
绝缘部分 |
握手部分 |
总长度 |
|
|
10kV 以下电气设备 |
根据工作方便不作规定 |
||
|
10kV 设备及输电线路 |
700 |
300 |
1000 |
|
35kV 设备及输电线路 |
900 |
600 |
1500 |
|
63kV 设备及输电线路 |
1000 |
600 |
1600 |
|
110kV 设备及输电线路 |
1300 |
700 |
2000 |
|
220kV 设备及输电线路 |
2100 |
900 |
3000 |
|
330kV 设备及输电线路 |
3000 |
1100 |
4100 |
|
500kV 设备及输电线路 |
4100 |
1400 |
5500 |
|
220~500kV 输电线路绝缘架空地线上 |
700 |
300 |
1000 |
|
试验室及试验设备接地 |
700 |
300 |
1000 |
表3 接地操作棒的绝缘特性
|
额定工作电压(kV) |
10及以下 |
35 |
63 |
110 |
220 |
330 |
500 |
220~500 绝缘架空地线 |
试验设备 |
|
预防性试验电压(kV) |
44 |
93.5 |
167 |
219 |
438 |
567 |
758 |
44 |
44 |
|
出厂试验电压(kV) |
48 |
102 |
184 |
241 |
482 |
634 |
836 |
48 |
48 |
|
型式试验电压(kV) |
53 |
112 |
202 |
265 |
530 |
679 |
920 |
53 |
53 |
|
湿耐压试验电压(kV) |
40 |
90 |
159 |
210 |
400 |
600 |
— |
40 |
40 |
表4 接地操作棒机械强度
|
静 拉 力 (N) |
抗 弯 力 |
|
1470 |
接地操作棒工作部分重量的两倍 |

图4 疲劳试验示意图(尺寸单位:mm)
1—摆动轴(左右偏转60°);2—试验附件;3—受试多股软导线;
4—导轮,自由距离6±1mm;5—导向片40×5mm
(使导线扭转的附件);6—线;7—荷载
3.9 临时接地极用铁管或圆形、六角形铁棒制成。
4 试验方法
4.1 成组短路接地线的电压降试验
在已组装好的短路接地线上进行(在每一线夹到另一线夹的任一支路上都要进行),施加0.2%额定短路电流值,测量其电压降,其压降应小于或等于同长同截面绞线的压降值,或压降不超过型式试验时测得压降的115%。
4.2 多股软导线疲劳试验
多股导线疲劳试验布置见图4。
被试多股软导线一端固定在试验附件2上,试验附件的杆长为100mm,被试多股软导线的长度为1000mm,试验时,试验附件沿轴向来回摆动,摆动角度为 左右60°,被试多股软导线下端连到一垂直导向片5,并悬挂荷载7,载荷按每导线截面(mm2)50g的比例施加,在试验附件摆动时,使被试验导线能沿松股方向来回扭转90°,每周持续时间不小于5s,试验1000次。
试验结束后,导线护层不出现爆裂皱折,导线解体检查,其损伤的导线股数不超过1%,则认为试验通过。
检查断股股数时,导线的绝缘护层必须剥离,在绞线散股情况下进行。
4.3 线鼻(汇流夹)与多股软导线间的紧握力试验
试验线鼻(汇流夹)与多股软导线间紧握力是否符合要求,被试软导线的长度应不小于300mm。试验时,应尽量避免导线受扭曲力。
在试样上以10N/(mm2·s)速度均匀施加拉力至表5规定值,并在此值下持续30s,如连接部分无松脱,则认为试验通过。
表5 线鼻与多股软导线的紧握力
|
导线截面(mm2) |
最大拉应力强度(N/mm2)* |
|
≤50 |
100 |
|
>50 |
80 |
* 1N/mm2 =1MPa
4.4 接地端线夹超紧固力试验
将接地端线夹按使用要求接到接地网上的固定连接点并紧固,紧固力应达到额定紧固力的2倍,检查接地端线夹有无永久变形,固定连接点有无损伤。
4.5 接地操作棒的机械强度试验
4.5.1 拉伸试验:操作棒垂直放置,上下端用专用夹子固定,下端加1470N静载荷5min,撤除载荷后,接地操作棒无损坏或永久变形。
4.5.2 抗弯试验:接地操作棒水平放置,握手部分端和限位标志处两点固定,一另端施加两倍接地操作棒工作部分的重量,持续1min,测量其挠度,挠度应不大于工作部分长度的20%,撤除力矩后接地操作棒无损坏或永久变形,用于330kV及以上输电线路的接地操作棒必做,220kV及以下可以不做。
4.6 短路电流试验
4.6.1 试验要求:
4.6.1.1 试验应在具备短路容量试验设备上进行。
4.6.1.2 试验相间短路线时应使用相-相试验电源,试验分相式接地线和组合式短路接地线的接地线支路可使用相-地电源。
4.6.1.3 试验在5~40℃温度间进行,试验与湿度无关。
4.6.1.4 可能有短路电流通过的所有接点间的电流通道都要经过试验。
4.6.1.5 试验装置应使用老化的导电材料,试验前不得对该导线进行清洗,擦拭和磨光。
4.6.1.6 在短路试验中,应用示波器记录电压和电流以测定电流有效值、峰值电流和试验持续时间,示波图所示应满足:
a.试验持续时间不小于额定时间;
b.在额定时间内无电流中断现象;
c.在额定时间内最大电流峰值除以
值不小于预定试验电流值;
d.额定时间内电压无异常变化。
4.6.2 试验参数:
4.6.2.1 试验频率为45~55Hz
4.6.2.2 试验电流值取短路接地线额定电流值的1.15倍。
I2t的允许误差为-5%~+15%。
4.6.2.3 峰值电流倍数应不小于2.5倍。
4.6.2.4 试验持续时间为1s。
4.6.3 试验电路:
4.6.3.1 对组合式短路接地线应在接点最多的一个支路上进行线夹间的电流试验,试验中不带电流的部分导线应保留长度为300mm。
4.6.3.2 试验接线见图5、图6。

图5 用于组合式短路接地线试验接线
b—试验装置导线间的水平距离1m;d—厂方说明书规定的
最小距离,如无给值,试验按d=0m进行;L3—导线端线夹和
汇流夹间线长1.4m;L—盲端4线长0.3m

图6 分相式短路接地线试验接线
a—输入端和导线端线夹之间的空间距离最小为2m;b—试验装置导线间的水平距离为1m;
c—接地点和接线点间的水平距离为1m;
h—短路线引下点和接地点之间的垂直距离4m;L2—短路线线长5m
4.6.4 试验结果合格标准:
4.6.4.1 导线端和接地端线夹未发生熔焊或自动弹开。
4.6.4.2 短路线和接地线未发生熔断。
4.6.4.3 汇流夹未发生熔化或多股软导线松脱。
4.6.4.4 试验后,导线端和接地端线夹应能进行装拆操作。
4.6.5 标志的耐久性试验:用不起毛的擦布蘸肥皂水擦拭标志15min,再用浸湿汽油的不起毛的布擦15min,标志应清晰可见。
5 检验规则
5.1 产品的出厂检验、型式检验和抽检项目。
产品出厂检验、型式检验和抽检项目见表6。
表6 产品出厂检验、型式检验和抽检项目表
|
序号 |
试验 对象 |
内 容 |
试验方法 |
试验分类 |
||
|
型式 |
抽样 |
出厂 |
||||
|
1 |
成品 |
检查各部件是否符合使用要求 |
目测 |
|
|
√ |
|
2 |
成品 |
检查多股软导线截面是否和标志一致 |
目测 |
|
|
√ |
|
3 |
成品 |
检查连接方法 |
目测 |
|
|
√ |
|
4 |
成品 |
成组电压降试验 |
试验 |
√ |
|
√ |
|
5 |
抽样 |
线鼻与多股软导线紧握力试验 |
试验 |
√ |
√ |
|
|
6 |
成品 |
线夹是否适合现场使用 |
人工操作 |
√ |
√ |
|
|
7 |
抽样 |
线夹超紧固力试验 |
试验 |
√ |
|
|
|
8 |
成品 |
检查多股软导线有无裸露部分 |
目测 |
|
|
√ |
|
9 |
抽样 |
多股软导线疲劳试验 |
试验 |
√ |
√ |
|
|
10 |
抽样 |
短路电流试验 |
试验 |
√ |
|
|
|
11 |
抽样 |
接地操作棒的绝缘试验 |
试验 |
√ |
√ |
√ |
|
12 |
抽样 |
接地操作棒的机械强度试验 |
试验 |
√ |
√ |
|
|
13 |
成品 |
检查标志是否完整 |
目测 |
|
|
√ |
|
14 |
成品 |
标志永久性试验 |
试验 |
√ |
√ |
|
|
15 |
|
使用说明书是否齐全 |
目测 |
|
|
√ |
注:符号“√”表示要做的项目。
5.2 型式检验
型式检验是考核产品是否满足本标准规定的全部要求,在设计,制造或结构、材料、工艺有重大改变时应重新进行型式检验。
除特殊规定外,试验应在成品中随机抽取的三个试样上进行,所有试样均通过试验才认为合格。
5.3 抽样检验
抽样检验的目的是为了检验产品性能,同型式检验时性能是否一致,用户可参与抽样选择,抽样方案及判定规则见附录B。
5.4 出厂检验
出厂检验是验证产品在出厂前,其产品性能是否符合本标准要求,出厂时由制造厂逐组进行,用户在收货地点进行。
6 标志、包装、运输和贮存
6.1 标志要求:
6.1.1 标志应清晰可见。
6.1.2 标志字母至少3mm高。
6.1.3 标志应耐久。
6.2 标志内容:
6.2.1 制造厂名或商标。
6.2.2 产品型号。
6.2.3 额定电流和额定时间。
6.2.4 多股软导线的截面积。
6.2.5 制造年月。
6.3 产品应采用塑料袋或防水人造革袋包装,包装袋上注明携带型短路接地线的名称、型号、制造厂名、重量,并附有产品合格证和使用说明书。
6.4 产品在包装条件下,存放在周围环境温度-25~40℃,相对湿度不超过85%的干燥,无腐蚀场所。
7 使用说明书内容
使用说明书应至少包括下列内容:
7.1 标志说明、组装方法。
7.2 维护和检查说明。
7.3 连接和紧固说明。
7.4 扭矩值和可能被用户松动的内部螺栓的紧固说明。
7.5 户内使用时限制的额定值。
7.6 特殊气候条件的使用说明。
7.7 经受短路后,携带型短路接地线各部件的处置规定。
附 录 A
携带型短路接地线的金属熔断特性
短路接地线金属特性,即短路接地线截面,熔化电流和承受时间的关系可用奥迪道克(I.E.Ondendonks)公式阐述:
(1)
式中 Im——熔化电流值,A;
A——接地线截面,圆密尔;
t——承受电流的时间,s;
Tm——金属的熔化温度,℃;
Ta——环境温度,℃。
当使用铜质接地线时Tm=1083℃Ta=40℃
将A(圆密尔)换算为S(mm2 ),则式(1)可简化为:
一般以理论上熔断特性所要求得的Im值除以一个降值因子作为额定短路电流I来估算携带型短路接地线的需要的截面值。降压因子值应在1.08~1.15范围内。
当t不为1秒时,同一截面的额定短路电流值可从名牌所给的I值进行换算;
当短路持续时间为t′秒时,短路接地线的相应额定短路电流值I′为:
附 录 B
抽样检验方案及拒收标准
批量大小 样品数 允许不合格数 应拒收的不合格数
2~15 2 0 1
16~25 3 0 1
26~90 5 0 1
91~150 8 0 1
151~500 13 1 2
501~1200 20 1 2
附 录 C
携带型短路接地线的选择、使用和维护说明
C1 总则
在被检修设备和线路上进行短路接地的目的是为了泄放残余电荷,防止在突然来电时的危险电压和电弧,或邻近带电设备和线路的影响产生感应电压,造成工作人员触电死亡或严重灼伤,因此要按安全工作规程要求正确选择短路接地线悬挂数量,正确选择悬挂地点、正确使用短路接地线,采取这些措施后,可以避 免危险电压和电弧的影响。
为了减轻携带型短路接地线的重量,在设计时采用了最高可能温升,在经受额定短路电流后,短路接地线瞬间最高温度可达到730℃。因此,短路接地线应装设在该装置导电部分的规定地点。
C2 选择
携带型短路接地线的选择应能承受悬挂点的最大短路电流,其额定短路电流 值不得小于悬挂点的最大故障电流。当不解除重合闸时,还应考虑二次短路电流 冲击对短路接地线额定短路电流值的影响。
短路接地线的长度应适合设备尺寸和固定接地点的距离,其额定短路电流平方和额定时间乘积值不小于故障电流平方和故障时间的乘积值,如接地线的长度小于连接点距离的1.2倍,可导致比型式试验时更严重的应力。过长则使短路时工作点残压过高和接地线强烈摆动。
根据方便悬挂短路接地线的要求选择线夹的型式。接地操作棒的选择应和悬挂点的系统额定电压一致,在悬挂接地线时应保证工作人员、接地线和带电设备保持必要的安全净距,在未挂妥接地线前,工作人员亦应和待接地导线保持一定安全距离。
C3 使用和维护
使用携带型短路接地线前,经验电确认已停电设备上确无电压后才能进行。先将接地端线夹连接到接地网上,然后用接地操作棒分别将导线端线夹夹紧在设 备导线上,拆除短路接地线,顺序和上述相反。
装设的短路接地线时,它和带电设备的距离,考虑接地线摆动的影响,其安全距离应不小于安全工作规程所规定的数值。
严禁不用线夹而用缠绕方法进行接地线短路。
悬挂点如无固定接地点可利用(如线路检修中,杆塔无接地引下线),可用临时接地极作临时接地点,接地棒埋入地下深度应不小于0.6m。
携带型短路接地线应妥善保管,每次使用前均应认真检查其是否完好,软导线无裸露,否则不得使用。
携带型短路接地线检验周期为每五年一次,检查项目同出厂检验。
经试验合格的携带型短路接地线在经受短路后,应根据经受短路电流大小和外观检验判断是否还能应用,一般应予报废。
_____________________
附加说明:
本标准由能源部安全环保司提出。
本标准由能源部苏州热工研究所、上海市电力局、江苏省电力局负责起草。
本标准主要起草人:卓关全。