中华人民共和国国家标准
电力线载波结合设备 UDC 621.396.65
GB 7329—87
Coupling devices forpower line carrier systems
国家标准局1987-03-02批准 1987-10-01实施
本标准适用于电力线载波系统用的结合设备。
结合设备接在耦合电容器的低电压端和连接电力线载波机的高频电缆之间;或者在桥路情况下,直接或经过附加设备接往另一台结合设备。
本标准的目的,是为结合设备规定名词术语的定义,规定其技术要求,提供主要特性的测试方法。
1 名词、术语
1.1 耦合方式
结合设备经耦合电容器与电力线的一相或多相导线耦合。相地耦合、相相耦合是最普遍的耦合方式。
1.2 相地耦合
电力线一个相的导线和地之间的耦合(如图1所示)。

图1 相地耦合
1—接地刀闸;2—主避雷器;3—排流线圈;4—调谐元件(包括匹配变量器);5—副避雷器;
a—耦合电容器高压端子;b—耦合电容器低压端子;c—结合设备初级端子
1.3 相相耦合
电力线的一相导线与另一相导线之间的耦合,这二相可属于电力线的同一回路也可不属于同一回路(如图2所示)。

图2 用两台相地结合设备的相相耦合
1—接地刀闸;2—主避雷器;3—排流线圈;4—调谐元件(包括匹配变量器);5—副避雷器;6—平衡变量器;
a—耦合电容器高压端子;b—耦合电容器低压 端子;
c、c1、c2—结合设备初级端子;d—结合设备接地端子;e、f—结合 设备次级端子
1.4 结合设备
与耦合电容器一起,在电力线和高频电缆之间传输载波信号的装置。
结合设备包括下述基本元件:
a.接地刀闸:满足维修和其他的需要,将结合设备的初级端子直接有效的接地,保证设备和人身安全。
b.避雷器:限制来自电力线的瞬时过电压。
c.排流线圈:将来自耦合电容器的工频电流接地。
d.调谐元件(包括匹配变量器):与耦合电容器一起组成高通、带通滤波器或其他网络,以提高载波信号的传输效率。
1.5 接地端子
结合设备连接公共接地网的端子。
1.6 初级端子
结合设备连接耦合电容器低电压端的端子。
1.7 次级端子
结合设备连接高频电缆的端子。
1.8 耦合电容器低压端子的杂散电容
耦合电容器低电压端子和接地端子之间的电容。
1.9 耦合电容器低电压端子的杂散电导
耦合电容器低电压端子和接地端子之间的电导。
1.10 线路侧标称阻抗( Z1 )
相地耦合方式时,耦合电容器高电压端子和地之间的阻抗标称值;相相耦合方式时,两个耦合电容器高电压端子间的阻抗标称值(如图3所示)。

图3 相地结合设备标称阻抗
1.11 电缆侧标称阻抗( Z2 )
结合设备在设备侧的阻抗标称值(如图3所示)。
1.12 工作衰减
工作衰减是由结合设备和耦合电容器组成的四端网络所引起。测试时,模拟耦合电容器的测试电容器具有规定的电容量并假定无损耗。耦合电容器低电压端子的杂散电容与杂散电导均用模拟网络代替。四端网络的两端分别终接以线路侧、电缆侧标称阻抗值的无感电阻。
1.13 回波损耗
结合设备和耦合电容器组成的四端网络的回波损耗(见国际电工辞典55-05-175)。测试时,模拟耦合电容器的测试电容器具有规定的电容量并假定无损耗。耦合电容器低电压端子的杂散电容与杂散电导均用模拟网络代替。四端网络的两端分别终接以线路侧、电缆侧标称阻抗值的无感电阻。
1.14 工作频带
工作衰减不大于规定值,回波损耗不小于规定值的载波频带。
1.15 标称功率
结合设备在满足失真和交调要求时可以承受的载波峰值包络功率。
2 产品品种、规格
2.1 结构形式
2.1.1 机械结构:
结合设备中排流线圈、调谐元件(包括匹配变量器)这两个部分装在一个壳体内,接地刀闸在壳体外。结合设备在正常使用条件下,应能经受日光、雨、雾、雹、雪和结冰的环境。
2.1.2 电路型式:
高通、带通滤波器或其他网络。
2.2 规格
结合设备可按设计序号、耦合电容器电容量、标称功率来划分。
a.耦合电容器系列:
3300,3500,4500,5000,7500,10000,15000 pF。
b.标称功率系列(下面划线的为推荐数值):
10,25,50,100,200,400,600,800,1000 W。
2.3 产品命名和型号编制规定
结合设备的型号,由表征结合设备结构特征的汉语拼音字母和表征结合设备适用范围的数字组成,一般包括3部分。通常第1部分代表结合设备的种类及设计型式,第2部分代表标称功率,第3部分代表耦合电容器电容量。第1~3部分需用连字符号分开。
2.3.1 型号的字母:
a.表示结合设备名称的字母应采用下列规定的大写字母:JL。
注:类别相同、某些特征相同、但设计型式不同的结合设备可在型号大写字母后面加1、2、3等,以示区别。
b.表示结合设备标称功率的字母应采用阿拉伯字,其数字位数由标称功率而定。
c.表示结合设备适用的耦合电容器,应采用阿拉伯字,数字的位数采用缩写,即一位数字表示1000pF。
2.4 型号的组成
结合设备的型号,由下列三部分组成:

例:JL5-400-3表示第五种设计型式,标称功率400W,适用于耦合电容器3300pF的结合设备。
3 技术要求
3.1 工作条件
3.1.1 标准工作条件:
标准条件为户外运行条件。结合设备在日光、雨、雾、雹、雪和结冰的环境中应能正常运行。
3.1.2 海拔高度:
安装地点不应超过1000m。
3.1.3 环境温度:
周围空气温度应在-40℃与+45℃之间。
3.1.4 工业频率:
电力系统频率应在0~60Hz之间。
3.1.5 工作电压:
电力线的额定工作电压不低于1kV。
3.1.6 载波频带:
40~500kHz。
3.2 基本要求
结合设备连接在耦合电容器的低压端和连接电力线载波机的高频电缆之间,它连同耦合电容器应保证:
a.在高频电缆和电力线之间有效地传输载波信号;
b.保护人身安全和载波设备不受工频电压和瞬时过电压的危害。
3.3 载波传输要求
3.3.1 工作衰减:
在结合设备的工作频带内工作衰减应不大于2dB(用于继电保护专用通道时不大于1.3dB)。测试时应计及耦合电容器的低电压端子杂散电导及杂散电容的影响。
注:耦合电容器的低电压端子的杂散电导及杂散电容值参照IEC 358(1971)《耦合电容器及电容分压器》。
3.3.2 回波损耗:
在结合设备的工作频带内,线路侧和电缆侧的回波损耗应不小于12dB(用于继电保护专用通道时不小于20dB)。测试时应计及耦合电容器低电压端子杂散电导及杂散电容的影响。
3.3.3 线路侧标称阻抗:
线路侧标称阻抗的范围,相地耦合时为200~400Ω,相相耦合时为400~800Ω。
根据需要结合设备应具有调整到不同线路阻抗的可能。
3.3.4 电缆侧标称阻抗:
电缆侧标称阻抗为75Ω(不平衡)、150Ω(平衡)。
3.3.5 失真和交调:
由结合设备引起的各个失真和交调产物的电平,应比相应的峰值包络功率电平低80dB以上。
3.4 安全和保护要求
3.4.1 结合设备应能保证电力线上的工作电压和可能出现的瞬时过电压不致在载波设备上产生危险电压,并保证运行人员的人身安全。
3.4.2 结合设备初级端子和接地端子之间的工频阻抗不得超过20Ω,端子的连接必须确保安全可靠。
3.4.3 排流线圈在避雷器的保护作用下,应能承受电力线上可能出现的瞬时过电压。排流线圈的工频载流量为:持续电流,有效值1A;短时电流,有效值50A,0.2s。
3.4.4 结合设备连接线:
结合设备内部所有可能通过接地电流的连接线都要采用截面不小于15mm2的铜线。
3.4.5 接地刀闸:
接地刀闸的耐压水平不应低于工频3kV,工频额定电流不得小于100A。
3.4.6 避雷器:
a.主避雷器应直接接于初级端子和接地端子之间,它应能保护结合设备和载波设备。
如采用气隙式避雷器,它必须牢固并易于维修,其工频放电电压的数量级为有效值2kV,能承受波形8/20μs、最低5kA的冲击放电电流。希望它至少能承受有效值5kA、时间0.2s的工频电流。同时,即使它损坏,也应保证结合设备的其他部分能被保护。
如采用非线性电阻式避雷器,其额定电压数量级为1kV,能承受波形8/20μs、至少5kA的冲击放电电流。
注:耦合电容器和结合设备相隔较远时,要在耦合电容器下加装一个和主避雷器相似的避雷器。
b.为了保护载波设备,次级端子应装设限制过电压的避雷器。
3.5 绝缘要求
3.5.1 工频水平:
结合设备初级和次级所需的耐压按4.5条方法试验,其工频电压有效值应为5kV。
3.5.2 冲击水平:
结合设备应能承受波形1.2/50μs、峰值为主避雷器冲击放电电压的2倍的冲击电压,按4.4条方法试验。
4 试验方法
试验在下列标准大气条件下进行,试验过程中气候条件基本不变:
a.环境温度为+15~+35℃;
b.环境相对湿度45%~75%;
c.环境气压86000~106000Pa。
4.1 工作衰减测量
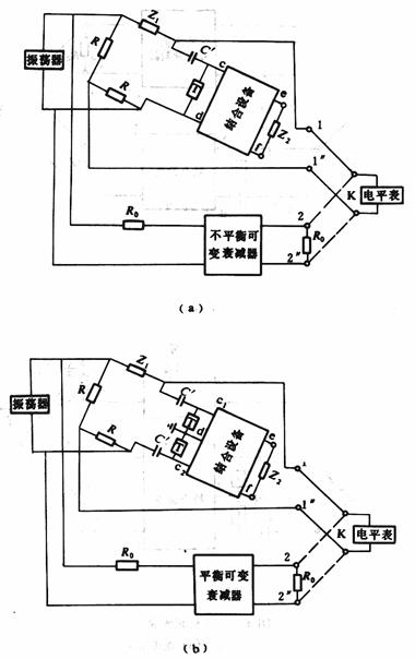
工作衰减Ac用比较法测量,应在结合设备的工作频带内进行。耦合电容器用低损耗等量的模拟测试电容器C′代替,耦合电容器低电压端子的杂散电容与杂散电导均用模拟网络T代替,测试结线如图4所示。振荡器输出电平保持不变,电平表内阻置于高内阻,调整可变衰减器使电平表读数在开关投向1~1″及2~2″时都相等。Ac值可用公式(1)、(2)进行计算。

图4 工作衰减测量
(a)相地结合设备测量;(b)相相结合设备测量
C′—测试电容器;R0—衰减器特性阻抗;T—耦合电容器低电压端杂散电导、杂散电容模拟网络;
其他符号说明见图1
相地耦合时:
(1)
相相耦合时:
(2)
式中 Z1、Z2——分别等于线路侧和电缆侧的标称阻抗;
Ao——可变衰减器的读数。
4.2 回波损耗测量
回波损耗A用比较法测量,应在结合设备的工作频带内进行。耦合电容器用低损耗等容量的模拟测试电容C′代替,并假定无损耗。耦合电容器低电压端的杂散电容与杂散电导均用模拟网络T代替,测试结线如图5所示。振荡器输出电平保持不变,电平表内阻置于高内阻,调整可变衰减器使电平表读数在开关扳向1~1″及2~2″时都相等,可变衰减器的读数即回波损耗值。

图5 回波损耗测量
(a)相地结合设备测量;(b)相相结合设备测量
C′—测试电容器;R0—衰减器特性阻抗;R—固定电阻;
T—耦合电容器低电压端杂散电导、杂散电容模拟网络;
其他符号说明见图1
4.3 失真和交调测量
在结合设备的次级端子接两台振荡器,其输出信号的频率不同但都位于结合设备工作频带以内。结合设备的初级端子通过测试电容器接一个阻值等于线路侧标称阻抗的无感电阻。两台振荡器的信号电压相等,在电阻两端各可产生1/4的峰值包络功率,以有效带宽不超过300Hz的选频电平表测出其任一种失真和交调产物。试验应尽量准确地模拟结合设备工作时的运行条件,包括正常工作时通过结合设备的工频电流及考虑耦合电容器低电压端的杂散电容及杂散电导的影响。
4.4 冲击耐压试验
相地结合设备的冲击耐压试验,应在断开避雷器后按图6(a)所示接线进行。
相相结合设备的试验方法按图6(b)所示:将冲击电压接到一个端子上,然后再加在另一个端子上,不试验的端子保持在隔离状态,顺次加1.2/50μs正负极性的冲击电压波各5次,其峰值应为主避雷器冲击放电电压的2倍。

图6 冲击耐压试验
(a)相地结合设备试验;(b)相相结合设备试验
4.5 工频耐压试验
若电的隔离是通过匹配变量器来实现的,则按图7进行绝缘试验。

图7 工频耐压试验
(a)相地结合设备试验;(b)相相结合设备试验
将5kV有效值的工频电压依次加到每一个线圈和地之间1min,其他绕组和屏蔽应接地。
4.6 排流线圈试验
试验包括下述项目:
a.工频阻抗测量;
b.工频电流的载流能力的检验。
4.7 避雷器试验
避雷器试验参照制造厂技术条件。
5 检验规则
5.1 结合设备须经制造厂技术检验部门按照出厂试验内容进行检验,并附有产品质量合格证书后才能出厂。
5.2 出厂试验包括下列内容:
a.外观检验;
b.按3.3.1条(工作衰减)、3.2.2条(回波损耗)、3.5.1条(工频水平)、3.5.2条(冲击水平)的要求对每台结合设备进行试验。
5.3 型式试验系全面验证产品质量性能是否符合本标准第3章中全部技术要求的试验。在下列情况下应进行型式试验:
a.新产品定型时;
b.结合设备在设计、工艺或使用材料上有重大改变时;
c.同类产品对比时;
d.停止生产一年以上的产品再次生产时。
进行型式试验的样品数量应为该批总数的3%且不得少于5台。经试验如发现有不合格者,应加倍抽样进行复试。复试如仍有不合格者,则本批产品的型式试验为不合格。
进行过型式试验的产品,如符合本标准要求,仍可出厂。
5.4 用户有权检查产品质量是否符合本标准全部技术要求。
6 标志、包装、运输、贮存
6.1 结合设备的铭牌应用不易腐蚀的材料制作,装于正面位置。
6.2 铭牌上应标有下列内容:
a.制造厂名;
b.型式;
c.制造厂序号;
d.耦合方式;
e.耦合电容器电容量;
f.工作频带;
g.线路侧标称阻抗;
h.电缆侧标称阻抗;
i.标称功率;
j.原理接线图;
k.制造年、月。
6.3 包装应能适应于出厂运输要求。箱外表面除应标明取货单位的名称和地址及生产厂家字样外,还应有“防止受潮”、“向上”等标志。
6.4 随同产品供应的技术文件有:
a.装箱清单;
b.产品合格证;
c.产品说明书。
_______________________
附加说明:
本标准由中华人民共和国水利电力部提出。
本标准由华北电管局北京电力设备总厂负责起草。
本标准主要起草人陈宇辉。