中华人民共和国国家标准
漏电电流动作保护器 UDC 621.316.91
(剩余电流动作保护器) .014.6
GB 6829—86
Residual current operated protective devices
国家标准局1986-09-03发布 1987-07-01实施
1 引言
本标准规定的漏电电流动作保护器(以下简称漏电保护器)主要是用来对有致命危险的人身触电进行保护。
漏电保护器的功能是提供间接接触保护。
额定漏电动作电流不超过30mA的漏电保护器,在其他保护措施失效时,可作为直接接触的补充保护,但不能作为唯一的直接接触保护。
1.1 适用范围
本标准适用于交流50Hz、额定电压至380V、额定电流至250A的漏电保护器。
1.2 主要目的
制定本标准的主要目的在于规定:
a.漏电保护器的特性;
b.正常工作条件;
c.漏电保护器的结构和性能要求;
d.验证特性和性能要求的试验与规则;
e.漏电保护器的标志、包装、运输、贮存的要求。
1.3 本标准与其他标准的关系
1.3.1 本标准和国内标准的关系
本标准符合GB 1497—85《低压电器基本标准》。
1.3.2 本标准和国际标准的关系
本标准参照采用IEC755(1983)《剩余电流动作保护装置的一般要求》(指导性文件)。
2 名词术语
除本标准补充规定的名词术语外,其余应符合有关国家标准规定。本标准用的“电流”和“电压”,除另有规定外,均为有效值。
2.1 间接接触(indirect contact)
人或家畜与故障情况下变为带电的外露导电部分的接触。
2.2 直接接触( direct contact)
人或家畜与带电部分的接触。
2.3 漏电电流(residual current)
通过漏电保护器主回路电流的矢量和。
2.4 漏电电流动作保护器(剩余电流动作保护器)(residual current operated protective device)
在规定条件下,当漏电电流达到或超过给定值时能自动断开电路的机械开电器或组合电器。
注:漏电保护器也可以由用来检测和判别漏电电流以及接通和分断电流的各种独立元件组成。
2.5 漏电动作电流(residual operating current)
在规定条件下,使漏电保护器动作的漏电电流。
2.6 漏电不动作电流(residual non-operating current)
在规定条件下,漏电保护器不动作的漏电电流。
2.7 漏电保护器的分断时间(break-lime of a residual current device)
从突然施加漏电动作电流时起,到被保护电路切断为止的时间。
2.8 极限不动作时间(limiting non-actuating time)
对漏电保护器施加一个规定的漏电动作电流值而漏电保护器不动作的最大时间。
2.9 延时型漏电保护器(time-delay residual current device)
对应于一个规定的漏电电流值能达到一个预定的极限不动作时间的漏电保护器。
2.10 漏电保护器的试验装置(test devicc of R ·C·D)
为了检查漏电保护器能否正常工作,模拟一个漏电电流使漏电保护器动作的装置。
2.11 自由脱扣(trip-free)
在闭合操作后,发生脱扣动作时,即使保持闭合指令,其动触头仍能返回并停留在断开位置。
2.12 漏电接通分断能力(residual making and breaking capacity)
漏电保护器在规定的使用和性能条件下能够接通,在其分断时间内能承受和能够分断的预期漏电电流值。
2.13 限制短路电流(conditional short-circuit current)
被一指定的短路保护电器(SCPD)所保护的漏电保护器,在规定的使用和性能条件下,在短路保护电器动作时间内所能承受的预期短路电流值。
2.14 限制漏电短路电流(conditional rcsidual short circuit current)
被一指定的短路保护电器(SCPD)所保护的漏电保护器,在规定的使用和性能条件下,在短路保护电器动作时间内所能承受的预期漏电电流值。
3 符号
本标准出现的主要符号如下:
额定电流 Ib
漏电电流 I△
额定漏电动作电流 I△n
额定漏电不动作电流 I△no
额定电压 Un
辅助电源额定电压 Usn
额定短路接通分断能力 Im
额定漏电接通分断能力 I△m
额定限制短路电流 Inc
额定限制漏电短路电流 I△c
4 分类
4.1 根据运行方式分类
4.1.1 不需要辅助电源的漏电保护器(漏电保护器的正常运行与辅助电源无关)。
4.1.2 需要辅助电源的漏电保护器(漏电保护器的正常运行与辅助电源有关)。
4.1.2.1 辅助电源中断时能自动断开的漏电保护器。
4.1.2.2 辅助电源中断时不能自动断开的漏电保护器。
4.2 根据安装型式分类
4.2.1 固定安装和固定接线的漏电保护器。
4.2.2 带有电缆的可移动使用的漏电保护器(通过可移动的电缆接到电源上)。
4.3 根据极数和线数分类
4.3.1 单极二线漏电保护器。
4.3.2 二极漏电保护器。
4.3.3 二极三线漏电保护器。
4.3.4 三极漏电保护器。
4.3.5 三极四线漏电保护器。
4.3.6 四极漏电保护器。
注:单极二线、二极三线、三极四线漏电保护器均有一根直接穿过检测元件而不能断开的中性线。
4.4 根据过电流保护分类
4.4.1 不带过电流保护的漏电保护器。
4.4.2 带过载保护的漏电保护器。
4.4.3 带短路保护的漏电保护器。
4.4.4 带过载和短路保护的漏电保护器。
4.5 根据额定漏电动作电流可调性分类
4.5.1 额定漏电动作电流不可调的漏电保护器。
4.5.2 额定漏电动作电流可调的漏电保护器。
4.5.2.1 分级调整。
4.5.2.2 连续调整。
4.6 根据接线方式分类
4.6.1 用螺钉或螺栓接线的漏电保护器。
4.6.2 插入式漏电保护器。
4.7 根据脉冲电压作用下防止误动作的性能分类
4.7.1 在脉冲电压作用下可能动作的漏电保护器。
4.7.2 在脉冲电压作用下不动作的漏电保护器(简称脉冲电压不动作型漏电保护器)。
5 特性
5.1 特性概要
漏电保护器的特性应由以下几个项目来说明(如适用时):
a.安装型式(见4.2);
b.极数和线数(见4.3);
c.额定值(见5.2);
d.过电流保护特性(见5.3);
e.和短路保护电器(SCPD)的协调配合(见5.4);
f.主电路中不导致误动作的过电流极限值(见5.5)。
5.2 额定值
5.2.1 额定频率
额定频率为50Hz。
5.2.2 额定电压(Un)
额定电压的优选值为220V、380V。
5.2.3 辅助电源额定电压(Usn)
辅助电源额定电压的优选值为:
a.直流:12、24、48、60、110、220V;
b.交流:12、24、48、220、380V。
注:辅助电源由漏电保护器控制的电源供电时,辅助电源额定电压即为漏电保护器的额定电压。
5.2.4 额定电流(In)
额定电流值为:6、10、16、20、25、32、40、50、(60)、63、(80)、100、(125)、160、200、250A。
注:带括号的值不推荐优先采用。
5.2.5 额定漏电动作电流(I△n)
制造厂规定的漏电保护器必须动作的漏电动作电流值。
额定漏电动作电流值为:0.006、0.01、(0.015)、0.03、(0.05)、(0.075)、0.1、(0.2)、0.3、0.5、1、3、5、10、20A。
注:带括号的值不推荐优先采用。
5.2.6 额定漏电不动作电流(I△no)
制造厂规定的漏电保护器必须不动作的漏电不动作电流值。
额定漏电不动作电流的优选值为0.5I△n,如果采用其他值时应大于0.5I△n。
5.2.7 漏电保护器的分断时间
间接接触保护用漏电保护器的最大分断时间,如表1。
表1
|
I△n (A) |
In (A) |
最 大 分 断 时 间(s) |
||
|
I△n |
2I△n |
5I△n |
||
|
≥0.03 |
任何值 |
0.2 |
0.1 |
0.04 |
|
≥40* |
0.2 |
— |
0.15 |
|
*适用于漏电保护组合器。
直接接触补充保护用漏电保护器的最大分断时间如表2。
表2
|
I△n (A) |
In (A) |
最 大 分 断 时 间 (s) |
||
|
I△n |
2I△n |
0.25A |
||
|
≤0.03 |
任何值 |
0.2 |
0.1 |
0.04 |
延时型漏电保护器延时时间的优选值为0.2、0.4、0.8、1、1.5、2s。
注:延时型漏电保护器只适用于间接接触保护,I△n >0.03A。
5.2.8 额定短路接通分断能力(Im)
5.2.8.1 带短路保护的漏电保护器的接通分断能力应符合JB1284—85《低压断路器》中5.3.5.3的规定。
5.2.8.2 不带短路保护的漏电保护器的接通分断能力的优选值如表3,额定接通分断能力的最小值如表4。
5.2.9
额定漏电接通分断能力(
)
额定漏电接通分断能力的优选值同表3。
额定漏电接通分断能力的最小值同表4。
5.3 过电流保护特性
带过电流保护的漏电保护器,其过电流保护特性除具体产品技术条件另有定外,应符合JB 1284—85中7.2.5.2.3和7.2.5.2.4的规定。
5.4 和短路保护器的协调配合
表3 不带短路保护的漏电保护器的额定短路接通分断能力的优选值
|
Im(A) |
300 |
500 |
1000 |
1500 |
(2000) |
3000 |
4500 |
6000 |
10000 |
20000 |
50000 |
|
Cosφ |
0.95 |
0.95 |
0.95 |
0.95 |
0. 9 |
0.9 |
0.8 |
0.7 |
0.5 |
0.3 |
0.25 |
表4 不带短路保护的漏电保护器的额定短路接通分断能力的最小值
|
In (A) |
Im (A) |
|
In≤10 10<In≤50 50<In≤100 100<In≤150 150<In≤200 200<In≤250 |
300 500 1000 1500 2000 3000 |
对不带短路保护的漏电保护器,制造厂必须规定匹配的短路保护器,或规定短路保护器的下列性能:
a.允许通过I2t的最大值;
b.允许通过峰值电流的最大值。
漏电保护器的性能应与此匹配。
5.4.1 额定限制短路电流(Inc )
额定限制短路电流的优选值同表3。
额定限制短路电流的最小值同表4。
5.4.2
额定限制漏电短路电流(
)
额定限制漏电短路电流的优选值同表3。
额定限制漏电短路电流的最小值同表4。
5.5 主电路中不导致误动作的过电流极限值
5.5.1 多相电路处于不平衡负载时不导致误动作的过电流极限值
在没有任何漏电电流的情况下,能够流过仅包括漏电保护器主电路两个极(包括穿过检测元件的中性线)的电路而不导致漏电保护器动作的最大电流值。
多相电路处于不平衡负载时,不导致误动作的过电流极限值不小于6In。
5.5.2 平衡负载时不导致误动作的过电流极限值
在没有任何漏电电流的情况下,漏电保护器的各极连接平衡负载电路,能够流过而不导致漏电保护器动作的最大电流值。
平衡负载时,不导致误动作的过电流极限值不小于6In 。
6 正常工作条件和安装条件
6.1 正常工作条件
6.1.1 周围空气温度
a.周围空气温度的上限不超过+40℃;
b.周围空气温度24h的平均值不超过+35℃;
c.周围空气温度的下限不低于-5℃或-25℃。
注:① 下限值规定为-5℃和-25℃两个等级,由具体产品技术条件选定。
② 运输贮存的极限温度为-25~+60℃,在此温度范围内,不一定要求漏电保护器正确动作,但应能承受这些温度的影响而不发生任何不可回复的变化。
6.1.2 海拔
安装地点的海拔不超过2000m。
6.1.3 大气条件
大气的相对湿度在周围最高温度为+40℃时不超过50%;在较低温度条件下,可以有较高的相对湿度;最湿月的月平均最大相对湿度为90%,同时该月的月平均最低温度为25℃,并考虑到因温度变化发生在产品表面上的凝露。
6.1.4 污染等级
除非具体产品技术条件另有规定,漏电保护器的污染等级推荐采用GB1497—85中4.5规定的污染等级2和污染等级3。
6.2 安装条件
对安装方位有规定或电器性能受安装条件显著影响的漏电保护器,应在具体产品技术条件中明确规定。
6.2.1 安装类别(过电压类别)
漏电保护器的安装类别除具体产品技术条件另有规定外,可适用于GB1497—85中4.6规定的安装类别Ⅱ和安装类别Ⅲ,当漏电保护器在中性点接地系统使用时,也可用于安装类别Ⅳ。
6.2.2 外磁场
漏电保护器安装场所的磁场,任何方向都不应超过地磁场的5倍。必须在强磁场附近使用的漏电保护器,由具体产品技术条件补充有关的技术要求。
7 结构与性能要求
7.1 结构设计
7.1.1 一般结构
漏电保护器应使用性能稳定的适用材料,制作精细,操作灵活,电气接触良好,接线方便,并且还必须符合下列各项要求:
7.1.1.1 用于电路中的电子元件应符合国家有关标准。
7.1.1.2 操作漏电保护器时,容易触及的外部零件应用绝缘材料制成,如用导电材料制成,它必须衬有完整的绝缘材料,或放置在绝缘内壳之中。
7.1.1.3 非熟练人员使用的漏电保护器(例如:家用漏电保护器,带有电缆的可移动使用的漏电保护器等),其外壳的防护等级应符合GB4942.2—85《低压电器外壳防护等级》中规定的IP2X级。对其他漏电保护器,制造厂应在说明书中给出安装使用的指导性意见,以免在使用中发生触电危险。
7.1.1.4 黑色金属(不锈钢除外)零件应采取电镀、喷漆、发黑及其他适当的防锈措施。但机构中的摩擦零件不受此限制。
7.1.1.5 耐燃性能
漏电保护器采用的绝缘材料应能承受8.2.5规定的试验而不引起燃烧。
7.1.1.6 释放式漏电脱扣器等在尘埃影响下易受损害的部件应设计成尘埃难以进入的结构。
7.1.1.7 在正常使用和安装漏电保护器时,必须打开或拆卸的门或盖,在打开或拆卸时应不会损坏漏电保护器内部的任何零件,并不会影响漏电保护器的动作性能。
固定盖子的装置不应用来紧固任何其他部件。
7.1.1.8 平面安装的漏电保护器应适于安装在平整的表面上,安装后不应引起任何部件的过分变形及影响正常工作。
7.1.1.9 对带有电缆的可移动使用的漏电保护器的要求:
a.带有电缆的可移动使用的漏电保护器应具有一根长度不小于2m的软电缆和与电源连接的插头(座),软电缆和与电源连接的插头(座)的额定值应不小于漏电保护器的额定值;
b.推拉或旋转漏电保护器的外壳时,对供电电缆产生的应力,不应传递到电缆导体的接线端;
c.用导电材料制成与供电电缆接触的夹紧装置和电缆之间应衬有附加绝缘或是不可触及的;
d.漏电保护器上容易与软电缆接触的表面应光滑且无棱角;
e.制造厂应提供更换电缆的正确连接方法的标志或说明。
7.1.2 机构
7.1.2.1 漏电保护器应能自由脱扣。在漏电电流超过额定漏电动作电流的情况下,缓慢地把操作部件推向闭合位置或固定在闭合位置时,漏电保护器应能可靠地分断。
7.1.2.2 漏电保护器的机构应使动触头只能置于闭合位置或断开位置。
7.1.2.3 漏电保护器应有能可靠地表示闭合位置和断开位置的指示。如果是用操作部件来指示触头的位置,在机构释放时,操作部件应自动地位于和动触头位置相对应的位置。这时操作部件应有两个能明显区分的对应于动触头的静止位置,但是对自动断开,操作部件可以有第三个明显区别的并靠近断开位置的静止位置。如采用符号表示,断开位置用“0”表示,闭合位置用“1”表示。
用两个按钮来进行闭合和断开操作的漏电保护器,表示断开操作的按钮应该用红色或标有符号“0”,其他按钮不得用红色表示。可以使闭合按钮停留在按下位置来表示闭合位置。
漏电保护器可以有一个专门用来指示漏电动作的指示装置,漏电保护器只能在使漏电指示装置复位以后才能重新闭合。
7.1.2.4 机构的动作应不受外壳或盖子的位置的影响,并与其他任何不用工具可拆卸的部件无关。
7.1.2.5 如按钮用盖子来导向,应不能从盖子外面取下这些按钮。
7.1.2.6 操作部件应可靠地固定,不借助工具不能取下。
7.1.2.7 当漏电保护器按规定要求安装时,如操作部件是“上下”运动的,应由向上的运动使触头闭合。
7.1.3 电气间隙和爬电距离
漏电保护器的电气间隙和爬电距离应符合GB 1497—85中7.1.3的规定。
7.1.4 载流部件及其连接
7.1.4.1 载流部件应具有足够的机械强度和足够的载流能力。
7.1.4.2 载流部件应采用能满足实际使用要求的导电性良好的铜、铜合金或其他金属及其适当的被覆层。
7.1.4.3 固定连接的接触压力不应通过绝缘材料(但陶瓷或者性能并不比陶瓷逊色的绝缘材料除外)来传递。当金属部件有足够的弹性措施来补偿绝缘材料的收缩与变形时可不受此限制。
7.1.4.4 作为电气连接的螺钉和铆钉应锁紧并防止松动。
7.1.4.5 具有两个极以上的漏电保护器,各极动触头应基本上同时闭合和同时断开。但是专门用作中性极的触头可以比其他触头先闭合后断开。
对于63A及以下的漏电保护器,如果有中性极,则中性极的额定电流应等于其他相线极的额定电流,对于63A以上的漏电保护器,中性极的额定电流应不小于其他相线极额定电流的50%,但应不小于63A。
7.1.5 接线装置
7.1.5.1 接线端子应用螺钉或其他等效方法连接,并能以足够的接触压力把表5标称截面积的铜导线夹紧在金属表面之间而不损坏导线。
表5 接线端子可以连接的铜导线标称截面积
|
In (A) |
被夹紧导线的标称截面积 (mm2) |
|
In≤10 |
1~2.5 |
|
10<In≤16 |
1.5~4 |
|
16<In≤25 |
2.5~6 |
|
25<In≤32 |
4~10 |
|
32<In≤50 |
6~16 |
|
50<In≤80 |
10~25 |
|
80<In≤100 |
16~35 |
|
100<In≤125 |
25~50 |
|
125<In≤200 |
50~95 |
|
200<In≤250 |
95~150 |
要求接线端子能用来夹紧单股实心导线和硬性的多股导线。
用来夹紧10mm2及以下的铜导线的接线端子,在连接导线前不允许对导线进行加工;如多股导线的钎焊,使用电缆接头及弯成环形等,并使导线在拧紧螺钉或螺母时不会滑出,但允许导线在进入端子前进行重新整形,或为增加导线的端部强度把多股导线捻紧。
7.1.5.2 接线端子应使导线不能移动,同时接线端子本身也不应该移动,以免损坏绝缘(减小电气间隙或爬电距离)或影响漏电保护器的正常运行。
7.1.5.3 如接线端子不是用来连接电缆,也可以制成专门连接和表5中导线标称截面积大致相同的母线的结构。这些装置可以是螺栓连接式,也可以是插入式。
7.1.5.4 接线端子中用于夹紧导线的螺钉和螺母,不应再用作固定其他零件。
7.2 性能要求
7.2.1 动作特性
7.2.1.1 漏电动作电流
漏电保护器的漏电动作电流应小于等于额定漏电动作电流,并大于额定漏电不动作电流。
7.2.1.2 分断时间
漏电保护器的分断时间应符合5.2.7的规定。
7.2.2 试验装置
7.2.2.1 漏电保护器应具有带自复式按钮的用来模拟漏电电流的试验装置。操作试验装置时不应使保护导体带电。当漏电保护器处在断开位置时,若操作试验装置,不应对被保护电路供电。
注:试验装置只用来检查漏电保护器的脱扣功能,而不用来校核额定漏电动作电流和分断时间的数值。
7.2.2.2 漏电保护器在额定电压下操作试验装置时所产生的安匝数,应不超过在漏电保护器的一个极通以I△n的漏电电流时所产生的安匝数的2.5倍。漏电保护器具有几个I△n时,除具体产品技术条件另有规定外,应采用最大的I△n值。
7.2.2.3 操作试验装置,在0.85Un及1.1Un时漏电保护器均应可靠地动作。
7.2.2.4 试验装置的按钮应能承受100N静压力1min不损坏。
7.2.2.5 试验装置的按钮应标有字母“T”或用文字说明,按钮的颜色不能用红色及绿色,推荐采用浅色。
7.2.3 需要辅助电源的漏电保护器还应符合下述技术要求:
在0.85Usn至1.1Usn之间必须保证正常运行。
对辅助电源中断时能自动断开的漏电保护器,辅助电源中断至漏电保护器分断电路的时间由具体产品技术条件规定。
7.2.4 温升
漏电保护器的温升按GB 1497—85中7.2.1的规定。
7.2.5 绝缘电阻和介电性能
7.2.5.1 绝缘电阻
经8.7.1湿热试验后,漏电保护器的绝缘电阻应不低于1.5MΩ。
7.2.5.2 工频耐压
漏电保护器的工频耐压试验值按GB 1497—85中7.2.2表12和表13的规定。
7.2.5.3 漏电保护器的冲击耐压试验电压的峰值为6000V。
7.2.6 冲击电压作用下漏电保护器防止误动作性能
对冲击电压不动作型漏电保护器在施加峰值为7000V的冲击试验电压时,应不发生误动作。
7.2.7 机械和电气寿命
漏电保护器的机械和电气寿命按8.12规定进行试验时,操作循环次数应不低于8000次。其中额定电流小于等于100A的漏电保护器的电气寿命不低于4000次,额定电流大于100A的漏电保护器的电气寿命不低于2000次。其余为机械寿命次数。
漏电保护器执行主电路接通分断功能的部分,如采用低压断路器时,机械和电气寿命应符合JB1284—85中7.2.3的规定,如采用交流接触器时,机械和电气寿命应符合JB2455—85《低压接触器》中7.2.6和7.2.7的规定。
7.2.8 耐机械冲击振动性能
漏电保护器应能经受8.13规定的试验。
7.2.9 可靠性
漏电保护器应能经受8.14规定的试验。
7.2.10 抗电磁干扰性能
漏电保护器采用电子电路时,其抗电磁干扰性能应符合GB1497—85中7.2.12的规定。
8 试验方法
8.1 试验条件
8.1.1 试品应符合经规定程序批准的图样及技术文件。
8.1.2 除有特殊规定外,试验应在新的漏电保护器上进行。
8.1.3 除有特殊规定外,试验应在正常工作条件下进行。
8.1.4 漏电保护器在试验之前允许在空载或负载(小于或等于额定负载)下操作数次。
8.1.5 在制造厂同意的前提下,为了试验方便,用比标准规定的更为严酷的试验参数和试验方法试验时同样有效。
8.1.6 除具体产品技术条件另有规定外,试品在试验中不允许更换零部件或进行维修。
8.2 验证机械结构
8.2.1 电气间隙和爬电距离的测量与计算
电气间隙和爬电距离的测量与计算方法见GB 1497—85中的附录A。
8.2.2 验证标志及标志的耐久性
标志的内容应符合10.1的规定。
直接标在漏电保护器外壳上或铭牌上的标志,用手拿一块浸湿蒸馏水的脱脂棉花,在大约15s内来回各擦15次,接着再用一块浸湿汽油的脱脂棉花,在大约15s内来回各擦15次,标志应仍能容易辨认。
对用压印、模压、冲压或雕刻等方法制造的标志,可以不进行此试验。
在本标准规定的所有试验之后,铭牌及标志应仍能容易辨认,而且没有任何翘曲现象。
8.2.3 接线端子的牢固性试验
8.2.3.1 漏电保护器的接线端子,连接表5规定的导线,以表6规定的110%的力矩来拧紧接线端子的螺钉(或螺母),然后拧松接线端子的螺钉(或螺母),再将导线拆下,用新的导线重复进行上述试验。本试验应分别用表5规定的最大和最小截面积的导线对两个接线端子各进行5次,每次试验时,导线不应有切断或损坏。全部试验结束后,接线端子应无妨碍其进一步使用的损坏。
8.2.3.2 漏电保护器的接线端子分两次连接表5规定的最大和最小截面积的导线,并用表6规定的三分之二的力矩来拧紧接线端子的螺钉(或螺母),然后对每一接线端子的连接导线逐渐增加轴向拉力到表7规定的值,保持1min,施加轴向拉力时应无冲击,试验过程中,接线端子所连接的导线不应滑出或产生明显的移动。
表6 验证接线端子的牢固性试验的拧紧力矩
|
螺 钉 直 径 (mm) |
拧 紧 扭 矩 (N·m) |
|||
|
公制标准值 |
直径φ范围 |
Ⅰ |
Ⅱ |
Ⅲ |
|
2.5 |
φ≤2.8 |
0.2 |
0.4 |
0.4 |
|
3.0 |
2.8<φ≤3.0 |
0.25 |
0.5 |
0.5 |
|
|
3.0<φ≤3.2 |
0.3 |
0.6 |
0.6 |
|
3.5 |
3.2<φ≤3.6 |
0.4 |
0.8 |
0.8 |
|
4 |
3.6<φ≤4.1 |
0.7 |
1.2 |
1.2 |
|
4.5 |
4.1<φ≤4.7 |
0.8 |
1.8 |
1.8 |
|
5 |
4.7<φ≤5.3 |
0.8 |
2.0 |
2.0 |
|
6 |
5.3<φ≤6.0 |
1.2 |
2.5 |
3.0 |
|
8 |
6.0<φ≤8.0 |
1.5 |
3.5 |
6.0 |
|
10 |
8.0<φ≤10 |
— |
4.0 |
10.0 |
|
12 |
10<φ≤12 |
— |
— |
14.0 |
|
14 |
12<φ≤14 |
— |
— |
19.0 |
表6第Ⅰ栏数据适用于拧紧时不能伸出孔来的无头螺钉,以及不能用宽度螺钉根部直径宽的螺丝刀来拧紧的其他螺钉。
表6第Ⅱ栏数据适用于用螺丝刀来拧紧的螺钉与螺母。
表6第Ⅲ栏数据适用于其他更好工具来拧紧的螺钉与螺母。
表7 验证接线端子的牢固性试验时对导线施加的轴向拉力
|
In (A) |
拉 力 (N) |
|
In≤16 |
50 |
|
16<In≤25 |
60 |
|
25<In≤32 |
80 |
|
32<In≤50 |
90 |
|
50<In≤100 |
100 |
|
100<In≤160 |
110 |
|
160<In≤250 |
120 |
8.2.3.3 对带有电缆的可移动使用的漏电保护器,应能在所连接的软电缆上施加一个逐渐增加到130N的拉力保持1min,软电缆不应脱落或损坏。
8.2.4 试球和试指试验
外壳防护等级符合IP2X级的漏电保护器应按下列规定进行试验。
a.试球试验,漏电保护器连接表5规定的最小截面积的导线,用直径为12+0.05mm的刚性球,对外壳的各个孔隙作试验。施于球上的力为30±3N,如球不能进入壳内,并与内壳带电部件和运动部件保持足够的间隙即认为合格。
b.试指试验:漏电保护器连接表5规定的最小截面积的导线,用图1所示的金属试指插入漏电保护器外壳的各个孔隙,施加于试指上的压力为10±1N,如能插入,应将试指任意活动至各个可能位置,并在试指与带电部件及危险的运动部件之间串接一个电压不低于40V的电源及指示灯,对仅用清漆、氧化膜或类似方法涂覆的带电部件及绝缘绕组,需用金属箔包覆,并使金属箔与带电部分在电气上连接,试验时,应使壳内运动部件缓慢动作。在试验过程中试指不应触及壳内带电部件而导致指示灯点亮。

图1 标准试指
没有专门规定公差部分的尺寸公差角度:![]()
直线尺寸:25mm以下:![]()
25mm以上:±0.2
试指材料:黄铜
试指的两个联结点可在90o
范围内弯曲但只能向一个方向
8.2.5 防起火危险试验
漏电保护器中绝缘材料(陶瓷材料除外)制成的零件,应按GB5169.4—85《着火危险试验灼热丝试验方法和导则》的规定,进行防起火危险试验。
灼热丝顶端的温度以及施加在试品上的试验时间应按表8选取。
灼热丝试验设备、预处理、试验程序和试验结果的评定均按GB5169.4—85的规定。
表8 灼热丝顶端的温度以及施加在试品上的试验时间
|
零 件 |
灼热丝顶端的温度 (℃) |
试 验 时 间 (s) |
|
支承载流部件和接地部件的绝缘零件 |
960±15 |
30±1 |
|
不支承载流部件的绝缘零件 |
650±10 |
30±1 |
8.3 验证动作特性
8.3.1 试验条件
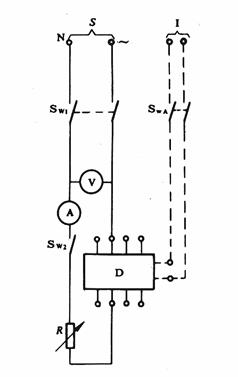
漏电保护器按正常使用条件安装,分别在图2a和图2b所示的基本上无感的电路里进行试验。测定电流和电压的仪表精度至少为0.5级,测量时间的仪表相对误差不大于10%,必要时可用示波器或电子计时器来测量时间。
不需要辅助电源的漏电保护器在额定电压下进行试验,需要辅助电源的漏电保护器应分别在1.1、1.0、0.85Us m下重复每组试验。
不需要辅助电源的漏电保护器或用一个独立的电源作为辅助电源的漏电保护器,在图2a所示的电路里进行试验,辅助电源用主电源的漏电保护器,在图2b所示的电路里进行试验。

图2a 验证不用辅助电源或用一个独立电源作为辅助电源
(虚线连接)的漏电保护器动作性能的试验电路图

图2b 验证用主电源作为辅助电源的漏电保护器
动作性能的试验电路图
S—电源;I—独立电源进线;V—电压表;
A—电流表;
—多极开关;
—单极开关;D—被试漏电保护器;R—可调电阻;
—辅助开关
8.3.2 验证在20℃温度下漏电保护器不带负载时的动作特性
在20±5℃温度下,漏电保护器不带负载,进行下列试验。
8.3.2.1 用漏电保护器接通额定漏电不动作电流,验证漏电保护器的不作特性
试验电路预先调节到通以额定漏电不动作电流值
,试验开关sw1、sw2先闭合,然后闭合被试漏电保护器,每极试验5次,漏电保护器均应不动作。
8.3.2.2 逐渐增加漏电电流验证漏电保护器的动作特性
试验开关sw1、
和被试漏电保护器处于闭合位置,调节电阻R,使漏电电流以约30s内从小于0.2
至
的速度逐渐增加,测量漏电保护器断开时的漏电电流值。每极试验5次漏电保护器应在大于
至
之间断开。
8.3.2.3 测量分断时间
8.3.2.3.1 用漏电保护器接通漏电电流测量分断时间
试验电路的漏电电流依次调节到表1或表2规定的电流值(对延时型漏电保护器只调节到
),试验开关
和
先闭合,然后闭合漏电保护器,测量分断时间,对每一个漏电电流档测量5次,每次测量值均应符合表1或表2的规定,对延时型漏电保护器,均应在规定延时时间加0.2s内分断。
8.3.2.3.2 突然出现漏电电流时测量分断时间
试验电路的漏电动作电流依次调节到表1或表2规定的电流值(对延时型漏电保护器只调节到
),试验开关
和漏电保护器处于闭合位置,然后闭合试验开关
使电路中突然产生一个漏电电流,测量分断时间,对每一个漏电电流档测量5次,每次测量值均应符合表1或表2的规定。延时型漏电保护器均应在规定的延时时间加0.2s内分断。
8.3.2.3.3 测量延时型漏电保护器的极限不动作时间
试验电路预先调节到5倍
,被试漏电保护器和试验开关
先闭合,然后闭合试验开关
,测量漏电保护器的分断时间共3次,分断时间均应不小于50%的规定延时时间,但应不大于规定延时时间加上0.04s。然后重复进行上述试验3次,但试验开关sw1在闭合50%的延时时间后立即断开,保持电源电压5s,漏电保护器应不动作。
8.3.3 验证在20℃温度下漏电保护器带负载时的动作特性
在20±5℃和额定电压下,漏电保护器带负载并通以额定电流,重复8.3.2.1、8.3.2.2和8.3.2.3.2试验。漏电保护器在任何合适的电压下,通以额定电流直至接线端子经1h温升不超过1℃的热稳定状态,然后重复8.3.2.3.2试验。
8.3.4 在正常使用的极限温度下验证动作特性
漏电保护器依次在下列条件下,进行8.3.2.3.2试验。
a.环境温度:-5℃或-25℃(根据具体产品技术条件的下限温度决定),
试验在漏电保护器空载下进行;
b.环境温度:+40℃,漏电保护器在任何合适电压下,通以额定电流,直至达到热稳定状态时进行试验。对需要辅助电源的漏电保护器,该辅助电源就是主电源时,考虑到与辅助电源有关元件的发热,应在额定电压下通以额定电流达到热稳定状态时进行试验。
8.3.5 验证操作部件缓慢闭合和保持在闭合位置时的动作特性
在常温下试验电路预先调节到额定漏电动作电流
,被试漏电保护器和试验开关sw1先闭合,把被试漏电保护器的操作部件人为地保持在闭合位置,然后闭合试验开关
,漏电保护器应在表1或表2规定的时间内分断。延时型漏电保护器应在规定延时时间加0.2s内分断。
然后,试验开关sw1、
闭合,把被试漏电保护器的操作部件缓慢地移动到电流刚接通的位置,操作部件不再继续移动,漏电保护器也应在表1或表2规定的时间内断开。延时型漏电保护器不进行此项试验。
上述试验仅在漏电保护器的一个极上各进行三次。
8.4 验证试验装置的性能
8.4.1 检查和操作试验装置,验证试验装置是否符合7.2.2.1和7.2.2.5的规定。然后对试验装置的按钮在操作方向施加100N静压力1min,试验装置应不损坏并仍能自动复位。
8.4.2 漏电保护器按正常使用条件接线,进行下列试验:
a.在0.85倍额定电压下操作试验装置25次,每两次试验之间的间隔约为1s。漏电保护器每次均应能可靠动作;
b.在1.1倍额定电压下重复a.的试验,每次试验漏电保护器均应能可靠动作;
c.在1.1倍额定电压下操作试验装置一次,但试验装置的按钮保持在闭合位置30s,漏电保护器应能可靠动作,并且试验装置的任何零件不能发生损坏。
8.4.3 测量试验装置回路的阻抗,根据试验装置的工作电压,计算出试验电流,校核试验装置产生的安匝数,应不超过漏电保护器的一个极通以I△n时产生的安匝数的2.5倍。如果本试验必须拆开漏电保护器,可以用另外一个试品进行试验。
8.5 验证辅助电源中断时的性能
对辅助电源中断时自动断开的漏电保护器,应按下列方法验证辅助电源中断时漏电保护器的工作性能。
8.5.1 测量导致漏电保护器自动断开的辅助电源电压极限值
在漏电保护器相应的接线端子上施加辅助电源额定电压Usn并闭合漏电保护器,然后以在30s内将电压降低到0V的速度,逐步降低辅助电源电压直到漏电保护器自动断开,测量漏电保护器自动断开时的辅助电源电压值,共测量5次,每次测得的动作值均应小于0.85
。
8.5.2 验证漏电保护器在辅助电源中断时自动断开的时间
在漏电保护器相应的接线端子上施加辅助电源额定电压Usn,并闭合漏电保护器,然后断开辅助电源的供电电源,测量从辅助电源中断开始至漏电保护器主触头断开之间的时间,测量5次,断开时间应在具体产品技术条件规定的范围内。对辅助电源中断时延时断开的漏电保护器,在延时时间内仍应能可靠动作,试验方法由具体产品技术条件规定。
8.6 验证温升
温升试验按GB1497—85中的8.2.2.2进行。另外对四极漏电保护器应先对三个相线极通以额定电In进行试验,然后对中性极和离它最近的相线极通以如下规定的电流进行试验:
a.相线极:通以额定电流In;
b.中性极:漏电保护器的额定电流小于等于63A时,为相线极的额定电流,额定电流大于63A时,为相线极额定电流的50%,但不小于63A。
试验时应使漏电脱扣器不动作。
8.7 验证绝缘电阻和介电性能
8.7.1 湿热试验
本标准规定的湿热试验按GB2423.4—81《电工电子产品基本环境试验规 试验Db:交变湿热试验方法》规定的试验Db进行。
试验严酷等级:高温温度40℃,试验周期6天。
8.7.2 测量绝缘电阻
在8.7.1试验的最后1~2h,试品仍在试验箱(室)内,温度为25±3℃,相对湿度控制在95%~98%,在试品上应不出现凝露,以免影响试验结果。
测量绝缘电阻的兆欧表的电压等级为500V。如检测电路中有电子元件以及过电压保护元件,试验时应将其断开,使电子元件的输入端与输出端之间没有电压。
测量部位如下:
a.漏电保护器处在断开位置,同一极的进出线端子之间;
b.漏电保护器处在闭合位置,依次对每极与连接在一起的其他极之间;
c.漏电保护器处在闭合位置,各极连接在一起与辅助电路及控制电路之间(如果适用时)、与操作部件之间、与漏电保护器的框架之间;
d.对于有金属外壳的漏电保护器,金属外壳内的绝缘内壳或绝缘材料、衬里包括衬套或类似装置的内表面覆盖的金属箔与框架之间。
注:“框架”包括容易触及的金属部件和漏电保护器正常安装后容易触及的绝缘材料表面覆盖的金属箔,安装漏电保护器的金属支架,对有金属外壳的漏电保护器还包括金属外壳内的绝缘材料衬里及衬套或类似装置的外表面覆盖的金属箔。
绝缘电阻应不低于1.5MΩ。
8.7.3 工频耐压试验
工频耐压试验分别在湿热试验前和紧接着8.7.2试验后仍在试验箱(室)内进行。
8.7.3.1 施加电压部位
8.7.3.1.1 主电路
对主电路进行工频耐压试验时,应将不与主电路连接的控制和辅助电路接到金属支架上,如检测电路中有电子元件及过电压保护元件,试验时应将其断开,使电子元件的输入端与输出端之间没有电压,施加电压部位如下:
a.在主触头闭合时:连在一起的所有各极的带电部件与框架之间;每一极和连接至框架上的其他各极之间。
b.在主触头断开时:连在一起的所有各极的带电部件与框架之间;连在一起的同一侧接线端与连在一起的另一侧接线端之间。
8.7.3.1.2 控制电路与辅助电路
对控制电路和辅助电路进行工频耐压试验时,应将主电路接到金属支架上,施加电压部位如下:
a.不与主电路连接的控制电路和辅助电路连接在一起与框架之间;
b.互相绝缘的控制电路与辅助电路之间。
8.7.3.1.3 检测互感器的二次绕组
检测互感器的二次绕组电路,只要是不可触及的,并且不和可触及的金属部件或保护导体或带电部件连接,可以不进行工频耐压试验。
8.7.3.2 施加电压
施加电压值在湿热试验前按7.2.5.2规定,在8.7.2试验后为7.2.5.2规定的80%。
试验电源电压的波形、频率和容量要求按GB998—82《低压电器基本试验方法》中6.3.2的规定。
试验开始时,试验电压不能超过规定值的一半,然后在约5s的时间内逐步地上升到规定值,持续时间1min。
试验过程中不应发生绝缘击穿、表面闪络、泄漏电流明显增大或电压突然下降等现象,可以利用安置在耐压试验变压器高压输出回路中的灵敏继电器检测泄漏电流来进行判别,灵敏继电器的动作电流整定值为100mA。
8.7.4 冲击耐压试验
8.7.4.1 试验条件
漏电保护器按正常使用条件安装在金属支架上,漏电保护器处于闭合位置。
冲击电压由能产生正负冲击电压的发生器供给。冲击电压波形及允许的误差如下:
a.前沿时间t1 =1.2μs,允许误差±30%;
b.幅值下降到50%峰值的时间t2 =50μs,允许误差±20%;
c.峰值6000V,允许误差±3%。
上述峰值电压为海拔2000m处冲击耐压试验的峰值。如试验不在海拔2000m处进行,还必须按表9的修正系数进行修正。
表9 冲击电压峰值的修正系数
|
试验地点的海拔 (m) |
表 计 大 气 压 (kPa) |
冲击电压峰值的修正系数 |
|
0 |
101.3 |
1.27 |
|
500 |
95.0 |
1.19 |
|
1000 |
90.0 |
1.13 |
|
2000 |
80.0 |
1.00 |
|
3000 |
70.0 |
0.88 |
|
4000 |
62.0 |
0.78 |
8.7.4.2 施加电压部位
8.7.4.2.1 主电路
a.漏电保护器的触头在不同位置时的各极连接在一起(包括连接在主电路的控制电路和辅助电路)和框架之间;
b.漏电保护器的触头在不同位置时每极和其他极之间(此时,其他极应和框架连接在一起)。
8.7.4.2.2 控制电路与辅助电路
对控制电路进行冲击耐压试验时,应将主电路连到金属支架上,施加电压部位如下:
a.不与主电路连接的控制电路和辅助电路连接在一起与框架之间;
b.互相绝缘的控制电路与辅助电路之间。
8.7.4.3 试验方法
在上述各种情况下,各施加5次正极性冲击和5次负极性冲击,每次之间的时间间隔至少10s。
试验过程中不能发生击穿放电。
如果发生击穿放电,则要增加10次冲击耐压试验,增加试验的冲击电压的极性和施加电压部位与发生击穿放电时的极性和施加电压部位相同,增加试验时不能再发生击穿放电。
注:冲击电压允许有小的振荡,但靠近峰值处的振荡幅值应小于峰值电压5%,前沿前半部的振荡幅值允许小于峰值电压的10%。
8.8 验证在短路条件下的工作性能
8.8.1 短路试验项目
验证在短路条件下漏电保护器的工作性能的各项试验如表10所示:
表10 验证在短路条件下漏电保护器的工作性能
|
试 验 项 目 |
不带短路保护 的漏电保护器 |
带短路保护的 漏电保护器 |
|
验证额定接通分断能力(Im) |
8.8.3.1 |
8.8.4.1 |
|
验证额定漏电接通分断能力(I△m) |
8.8.3.2 |
8.8.4.2 |
|
验证在额定限制短路电流Inc时和短路保护器的配合 |
8.8.3.3 |
|
|
验证在额定接通分断能力Im时和短路保护器的配合 |
8.8.3.4 |
|
|
验证在额定限制漏电短路电流I△c时和短路保护器的配合 |
8.8.3.5 |
|
8.8.2 试验条件
8.8.2.1 试验线路
图3用于单极二线漏电保护器。
图4用于二极漏电保护器。
图5用于二极三线漏电保护器。
图6用于三极漏电保护器。
图7用于三极四线漏电保护器。
图8用于四极漏电保护器。

`图3 在单相电路中验证不带短路保护的单极二线
漏电保护器和短路保护器的配合及验证漏电保护器
的接通分断能力的试验电路图
S—电源;R—可调电阻;L—可调电感;P—短路保护器;D—被试漏电保护器;B—调节用临时连接;C—额定限制短路电流试验的连接;T—接通短路装置;O1—记录电流振子;O2—记录电压振子;R1 —装置D1的限流电阻;D1 —检测故障电流装置;R2 —调节IΔ的可调电阻;R3—附加电阻,用来获得小于额定限制短路电流的电流;SW1—辅助开关

图4 在单相电路中验证不带短路保护的二极漏电
保护器和短路保护器的配合及验证漏电保护器的
短路接通分断能力的试验电路图
N—中性线;S—电源;R—可调电阻;L—可调电感;P—短路保护器;—被试漏电保护器;B—调节用临时连接;C—额定限制短路电流试验的连接;T—接通短路装置O2—记录电流振子;O2—记录电压振子;D1—检测故障电流装置;R1—装置D1的限流电阻;R2—调节IΔ的可调电阻;R3—附加电阻,用来获得小于额定限制短路电流的电流;SW1—辅助开关

图5 在单相电路中(带中性线的单相电源)验证不带短路
保护的二极三线漏电保护器和短路保护器的配合及验证
漏电保护器的短路接通分断能力的试验电路图
N—中性线;S—电源;R—可调电阻;L—可调电感;P—短路保护器;—被试漏电保护器;B—调节用临时连接;C—额定限制短路电流试验的连接;T—接通短路装置O2—记录电流振子;O2—记录电压振子;D1—检测故障电流装置;R1—装置D1的限流电阻;R2—调节IΔ的可调电阻;R3—附加电阻,用来获得小于额定限制短路电流的电流;SW1—辅助开关

图6 在三相电路中验证不带短路保护的三极漏电
保护器和短路保护器的配合及验证漏电保护器的
短路接通分断能力的试验电路图
N—中性线;S—电源;R—可调电阻;L—可调电感;P—短路保护器;—被试漏电保护器;B—调节用临时连接;C—额定限制短路电流试验的连接;T—接通短路装置O2—记录电流振子;O2—记录电压振子;D1—检测故障电流装置;R1—装置D1的限流电阻;R2—调节IΔ的可调电阻;R3—附加电阻,用来获得小于额定限制短路电流的电流;SW1—辅助开关

图7 在三相四线电路中验证不带短路保护的三极四线
漏电保护器和短路保护器的配合及验证漏电保护器的
短路接通分断能力的试验电路图
N—中性线;S—电源;R—可调电阻;L—可调电感;P—短路保护器;—被试漏电保护器;B—调节用临时连接;C—额定限制短路电流试验的连接;T—接通短路装置O2—记录电流振子;O2—记录电压振子;D1—检测故障电流装置;R1—装置D1的限流电阻;R2—调节IΔ的可调电阻;R3—附加电阻,用来获得小于额定限制短路电流的电流;SW1—辅助开关

图8 在三相四线电路中验证不带短路保护的四极漏电
保护器和短路保护器的配合及验证漏电保护器的短路
接通分断能力的试验电路图
N—中性线;S—电源;R—可调电阻;L—可调电感;P—短路保护器;D—被试漏电保护器;B—调节用临时连接;C—额定限制短路电流试验的连接;T—接通短路装置O2—记录电流振子;O2—记录电压振子;D1—检测故障电流装置;R1—装置D1的限流电阻;R2—调节IΔ的可调电阻;R3—附加电阻,用来获得小于额定限制短路电流的电流;SW1—辅助开关
由电源S供电的电路包括可调电阻R、可调电感L、短路保护电器P(如果有的话)、被试漏电保护器D和附加电阻R3(需要使用时)。试验电路的电阻和电感应是可调的。
空心电感L和电阻R串联在一起。每相电路中的空心电感应并联一个电阻,此电阻的分流电流为通过电感L电流的0.6%。
每个试验电路中电阻R和电感L接在电源S和漏电保护器D之间。如果有短路保护电器P,则接在电阻R和漏电保护器D之间,如果用附加电阻R3,应接在漏电保护器负载侧,并接在漏电保护器与各极连接导线之间。
每种试验的试验电路图应画在试验报告里,试验电路图应和本标准规定的电路图一致,如制造厂和用户或试验站之间另有规定,此时有关情况应在试验报告里注明。
试验电路里应有一个点,而且只有一个点直接接地,这个点可以是试验电路的短路连接点,也可以是电源的中性点或者其他任何合适的点,但是接地方法应在试验报告中注明。
R2是一个可调节的电阻,能使电路中通过的漏电电流调节到10I△n,以便各种不同型式的漏电保护器能在表1或表2规定的最小动作时间内分断。
SW1是辅助开关。
辅助电源接线端子上,施加辅助电源额定电压(如果有的话)。
漏电保护器的所有正常工作时接地的导电部件,包括外壳和安装漏电保护器的金属底板,都应接到电源中性点或接到一个人为的中性点上,这个人为的中性点至少应允许通过100A的预期故障电流。在这个电路中应包括一个可靠的检测故障电流的装置D1(例如用直径0.1mm,长度至少为50mm的铜丝组成的熔断器),如果必要时,还应有一个限制预期故障电流在100A左右的电阻器R1。
示波器振子O1连接在漏电保护器的负载侧,另一个振子O2并联在漏电保护器每极的两个接线端子之间。除非试验报告中另有说明,测量电路的阻抗至少应为每伏工频恢复电压100Ω。
8.8.2.2 试验参数的允许误差
除非另有规定,验证接通分断能力以及漏电保护器和短路保护电器配合的全部试验,都应在本标准规定的试验条件下进行。
如果试验报告的试验参数值在下列允许误差范围内,认为试验是有效的。
a.电流:0+5%;
b.电压:(包括恢复电压):±5%;
c.功率因数:0-0.05
8.8.2.3 试验电路的功率因数
多相试验电路的功率因数为各相功率因数的平均值。在试验报告中应标出试验电路功率因数的平均值。功率因数的平均值与各相功率因数的最大值和最小值之间的差应不超过平均值的25%。
8.8.2.4 工频恢复电压
工频恢复电压 的平均值,应等于被试漏电保护器的额定电压的105%。
8.8.2.5 试验电路的调节
被试漏电保护器1)和短路保护电器P(如果有的话),用临时连接B代替,连接的阻抗与试验电路相比可以忽略不计。对于8.8.3.3试验(验证在额定限制短路电流时和短路保护电器的配合)时,漏电保护器负载端用阻抗可以忽略不计的连接C短接。调节电阻R和电感L使电路在试验电压及规定的功率因数下流过的电流等于额定限制短路电流Inc。试验电路各极同时通电,用示波器振子O1记录电流曲线。
对8.8.3.1、8.8.3.2、8.8.3.4和8.8.3.5试验,必要时在漏电保护器的负载侧连接附加电阻R3,以使调节到所要求的电流值。
8.8.2.6 被试漏电保护器的条件
被试漏电保护器安装在一块金属底板上,装在外壳里的漏电保护器应在与使用时同样型号的外壳里进行试验。
漏电保护器的控制机构应在规定条件下运行。如果漏电保护器是电气控制的,其电压应是控制电路规定电压的最小值。
进行试验时,要有金属屏蔽层,金属屏蔽层应放置在带电部件附近,并和这些部件隔开一个制造厂所规定的飞弧距离。屏蔽层必须对地绝缘,并与漏电保护器的外露可导电部件连接在一起,也可以用一个漏电保护器能在里面使用的最小尺寸的金属外壳来代替金属屏蔽层。
8.8.2.7 被试短路保护电器P的条件(如果有的话)
短路保护电器应符合有关标准的规定。
8.8.2.8 试验过程中漏电保护器的工作情况
试验过程中,漏电保护器不应有过度损坏的迹象,不能持续燃弧,各极之间及各极与外露可导电部件之间不能击穿和闪络,接地回路的熔断器D1也不能熔断。
8.8.2.9 试验后漏电保护器的状况
进行完每一项试验后,漏电保护器不应有妨碍其继续使用的损坏现象,不经维修应能承受两倍额定电压1min的耐压试验,并能在额定电压下接通和分断额定电流两次。
对漏电保护器的一极突然通以1.25I△n的漏电电流,漏电保护器应能断开,试验时不测量分断时间,但对延时型漏电保护器要测量分断时间,并应在规定的延时时间加0.2s内分断。
带过电流保护的漏电保护器,还应进行过电流特性试验,试验电流和试验方法除具体产品技术条件另有规定外,应按JB1284—85中8.1.3.7的规定。在进行这一试验时应使漏电脱扣器不能动作。
8.8.3 不带短路保护的漏电保护器的短路试验
8.8.3.1 验证额定接通分断能力(Im )
本试验是验证漏电保护器承受额定短路电流的能力。在短路电流流过时,漏电脱扣器导致漏电保护器动作。
漏电保护器在8.8.2.1规定的一个电路中进行试验,短路保护电器P用阻抗近似的连接线代替。辅助开关Sw1处于闭合位置。用漏电保护器闭合回路三次,由于通过辅助开关SW1和电阻R2有10I△m的漏电电流流过,漏电保护器应自动分断。连续两次闭合操作之间的时间间隔t应是3min。
每次电弧熄灭后,恢复电压保持时间至少应为0.1s。
8.8.3.2 验证额定漏电接通分断能力(I△m)
本试验是用来验证漏电保护器承受漏电短路电流的能力。
闭合辅助开关SW1,调节试验电路,使短路电流I△m流过漏电保护器的一个极和电阻R2。
试验仅在一个极进行,该极不应是漏电保护器可开闭的中性极。不承载漏电短路电流的电路,其进线端与电源连接。辅助开关
处于闭合位置。
试验操作程序如下:
O—t—O—t—O—t—CO—t—CO
这里:
O——表示由辅助开关T接通电路漏电保护器D的分断动作;
CO——表示辅助开关T处于闭合位置,漏电保护器D的接通操作以及紧接着该电器的分断动作;
t——表示3min的时间间隔。
在三次分断动作时,辅助开关T应与电压波形同步,使三个接通起始点在电压波形上的位置如下:
30±10°;60±10°;90±10°。
每次电弧熄灭后,恢复电压保持时间至少应为0.1s。
8.8.3.3 验证在额定限制短路电流Inc时和短路保护电器的配合。
本试验是验证漏电保护器承受限制短路电流的能力,在短路电流流过时,有漏电电流存在,短路电流由短路保护电器分断。
试验时辅助开关关Sw1处于断开位置(没有漏电电流)。
每次操作之前,闭合短路保护电器P(或换上新的熔断体)。
试验操作程序如下:
O—t—CO
这里:
O——表示漏电保护器D和短路保护电器P两者同时处于闭合位置,辅助开关T接通电路后,短路保护电器P的分断动作;
CO——表示辅助开关T和短路保护电器P处于闭合位置,漏电保护器D的接通操作以及紧接着短路保护电器P的分断动作;
t——表示3min时间间隔或短路保护电器的复回时间,两者中取较长的一个。
每次电弧熄灭后,恢复电压保持时间至少应为0.1s。
在试验过程中,漏电保护器也可以动作。
8.8.3.4 验证在额定接通分断能力Im时和短路保护电器的配合
本试验是验证漏电保护器承受额定短路电流的能力,在短路电流流过时,没有漏电电流存在,短路电流由短路保护电器分断。
试验时辅助开关Sw1处于断开位置(没有漏电电流)。
试验操作程序如下:
O—t—O—t—O—t—CO—t—CO
这里:
O——表示漏电保护器D和短路保护电器P两者同时处于闭合位置,辅助关T接通电路后,短路保护电器P的分断动作;
CO——表示辅助开关T和短路保护电器P两者同时处于闭合位置,漏电保护器D的接通操作以及紧接着短路保护电器P的分断动作;
t ——表示3min时间间隔或短路保护电器的复回时间,两者中取较长的一个。
在三次分断试验时,辅助开关T应与电压波形同步(三相中任意一相),使三个接通起始点在电压波形上的位置如下:
30±10°;60±10°;90±10°。
每次电弧熄灭后,恢复电压保持时间至少应为0.1s。
在试验过程中,漏电保护器也可以动作。
8.8.3.5 验证在额定限制漏电短路电流I△c时和短路保护电器的配合
试验电路调节同8.8.3.2。
试验操作程序如下:
O—t—O—t—O—t—CO—t—CO
这里:
O——表示漏电保护器D和短路保护电器P两者同时处于闭合位置,辅助开关T接通电路后,或是漏电保护器D单独地进行分断动作,或者是漏电保护器D和短路保护电器P同时进行分断动作。
CO——表示辅助开关T和短路保护电器P两者同时处于闭合位置,漏电保护器D的接通操作,紧接着或是漏电保护器D单独地进行分断动作,或是漏电保护器D和短路保护电器P同时进行分断动作。
t ——表示3min时间间隔或短路保护电器P的复回时间,两者中取较长的一个。
在三次分断试验时,辅助开关T应与电压波形同步,使三个接通起始点在电压波形上位置如下:
30±10°;60±10°;90±10°。
每次电弧熄灭后,恢复电压保持时间至少应为0.1s。
8.8.4 带短路保护的漏电保护器的短路试验
带短路保护的漏电保护器按下列要求进行短路试验。
8.8.4.1 验证额定接通分断能力
本试验是验证带短路保护的漏电保护器承受额定短路电流的能力,漏电保护器在8.8.2.1规定的一个电路中进行试验,但应以阻抗可以忽略不计的连接B代替短路保护电器P。试验时,辅助开关Sw1处于断开位置(没有漏电电流)。
除具体产品技术条件另有规定外,试验操作程序如下:
O—t—CO
这里:
O——表示漏电保护器D处于闭合位置,辅助开关T接通电路后漏电保护器的分断动作。
CO——表示辅助开关T处于闭合位置,漏电保护器D的接通操作以及紧接着的分断动作。
t—— 表示3min时间间隔或漏电保护器的过电流脱扣器的复回时间,两者中取较长的一个。
每次电弧熄灭后,恢复电压保持时间至少为0.1s。
8.8.4.2 验证额定漏电接通分断能力
漏电保护器在8.8.2.1规定的一个电路中进行试验,但应以阻抗可忽略不计的连接B代替短路保护电器P。
试验方法及试验操作程序同8.8.3.2。
8.9 验证过电流保护特性
带过电流保护的漏电保护器,除具体产品技术条件另有规定外,过电流保护特性应按JB 1284—85中8.1.3.1.2和8.1.3.1.3的规定进行试验。
试验中漏电脱扣器应不动作。
8.10 验证主电路中不导致误动作的过电流极限值
带有过电流保护的漏电保护器进行本试验时,应在过电流脱扣器不动作的条件下进行,试验可在任何合适电压下进行。但辅助电源采用主电路电源的漏电保护器,必须在额定电压下进行。
8.10.1 多相电路不平衡负载时的试验
漏电保护器按图9进行接线,漏电保护器处于闭合位置,辅助开关
断开。需要辅助电源的漏电保护器,相应的接线端子施加辅助电源额定电压
,调节电阻R,使电路中流过6In的电流(或具体产品技术条件规定的电流值)。闭合辅助开关
,1s后再断开。对每一个可能组成的电路重复试验三次。两次闭合操作之间的时间间隔不小于1min。试验过程中漏电保护器应不动作。

图9 验证不平衡负载情况下过电流时
不动作电流极限值的试验电路图
S—电源;SW1—辅助开关;V—电压表;A—电流表;
D—被试漏电保护器;R—可调电阻
8.10.2 平衡负载时的试验
漏电保护器按正常使用条件安装,连接一个基本上无感的负载,使每一极流过6In(或具体产品技术条件规定的电流值)的对称电流。需要辅助电源的漏电保护器,相应接线端子上施加辅助电源额定电压Usn。
漏电保护器先闭合,用一个多极辅助开关接通负载,1s后再断开,重复进行三次试验。两次闭合操作之间的时间间隔不小于1min。试验过程中漏电保护应不动作。
8.11 验证冲击电压作用下防止误动作的性能
对冲击电压不动作型漏电保护器应验证在冲击电压作用下防止误动作的性能。
漏电保护器按正常使用条件安装,用图10所示的电路进行试验,漏电保护器的电源接线端施加额定电压。

图10 验证冲击电压作用下漏电保护器防止
误动作性能的试验线路图
C—电容0.03μF;R—电阻0.1MΩ
试验时,漏电保护器处于闭合位置,对每极分别施加三次正极性冲击和负极性冲击,时间间隔为1min。冲击电压波形同8.7.4冲击耐压试验时的波形,冲击电压的峰值为7000V。试验过程中,漏电保护器应不动作。
8.12 验证机械和电气寿命
8.12.1 试验方法
机械和电气寿命试验方法除另有规定外,均按GB998—82《低压电器基本试验方法》中的11.1、11.2、11.4和11.5的规定进行。
电气寿命试验参数及允许误差如下:
a.接通分断电流:额定电流In +5%;
b.试验电压:额定电压Un ±5%;
c.功率因数:0.95-0.05;
d.操作频率:120次/h。
每个操作循环包括闭合操作以及接着的断开操作(机械寿命试验)或接通操作以及接着的分断操作(电气寿命试验)。
机械和电气寿命试验中,500次由试验装置断开,500次由一个极突然通以I△n的漏电电流分断。
对I△n≤0.015A的漏电保护器由试验装置和一个极突然通以I△n的漏电电流分断的次数分别为1500次。
如漏电保护器执行主电路接通分断功能的部分采用低压断路器时,试验参数及试验方法还应符合JB1284—85中的8.1.3.3,如采用交流接触器时,还应符合JB2455—85中的8.2.8的规定。
8.12.2 试验后要求
在机械电气寿命试验后,漏电保护器应没有妨碍其继续使用的损坏,不经维修,不经过潮湿试验,漏电保护器应能承受8.7.3规定的工频耐压试验,但试验电压降低500V,然后再对漏电保护器的一极突然通以1.25I△n的漏电电流,漏电保护器应能分断;试验时不测量断开时间,但对延时型漏电保护器要测量分断时间;并应在规定的延时时间加0.2s内分断。
带过电流保护的漏电保护器,还应进行过电流特性试验,试验电流及试验方法除具体产品技术条件另有规定外,应符合JB1284—85中8.1.3.6的规定。
8.13 验证耐机械冲击振动性能
8.13.1 耐机械振动试验
8.13.1.1 试验设备
漏电保护器用 图11所示的装置进行机械振动试验。

图11 机械振动装置及试品的试验位置
装置在一块固定在混凝土底座上的木质基座A,木制平台B用铰链连接到座A上。平台B上的木板C,能在两个互相垂直的位置固定。
平台B的另一端有一块金属止动片D,它靠在一个刚度为25N/mm的螺旋形弹簧上。
漏电保护器安装在木板C上,并使试品的水平轴线至平台的距离为180mm,木板C依次按图示方式固定,使漏电保护器安装平面至铰链的距离是200mm。安装漏电保护器的木板C的反面固定一个配重,使得作用在金属止动片上的静力是25N使整个系统的惯量基本上保持恒定。
8.13.1.2 试验过程
漏电保护器处于闭合位置,不接任何电源。平台自由端升高40mm,然后落下,共试验50次,相邻两次之间的时间间隔应使试品能静止下来。然后漏电保护器固定在木板C的另一边,再试50次。
试验后,木板C绕着其垂直轴线转过90°,如果需要的话,还必须重新调整木板C的位置,使得漏电保护器的垂直对称轴线至铰链的距离是200mm,漏电保护器先后安装在木板C的两边,再各进行50次试验。
每次变换位置前,用手操作使漏电保护器断开和闭合数次。
在试验过程中,漏电保护器应不动作。试验后,对漏电保护器的一极突然通以1.25I△n的漏电电流,漏电保护器应在表1或表2对
规定的时间内分断,延时型漏电保护器,应在规定的延时时间加0.2s内分断。
8.13.2 耐机械冲击试验
8.13.2.1 漏电保护器用图12所示的机械冲击设备,对外部零件包括操作部件、盖子和类似零件进行冲击试验。

图12 机械冲击设备
冲击部件有一个半径为10mm的半球形面,由硬木或类似材料制成,质量为0.15kg,它被刚性地固定在一根外径为9mm和壁厚0.5mm钢管的下端,钢管的上端装在心轴上,使钢管只能在垂直平面内摆动,心轴的轴线在冲击部件轴线上方1000mm处。
试验设备的结构,应保证当把钢管置于水平位置时,冲击部件的前面必须有1.9~2.0N的力。
试品安装在一块厚8mm和250mm见方的无任何金属护板的层压板上,层压板的上边和下边固定在刚性支架上,支架及其转轴的支承架安装在一个刚性框架上,而框架固定在实心砖墙、混凝土或其他类似物体上。
设备的设计应考虑到:
a.放置试品时,能使冲击点落在通过心轴轴线的垂直平面内;
b.试品能作水平移动并能绕垂直于层压板表面的一根轴线转动;
c.层压板能绕一根垂直轴线转动。
漏电保护器按正常使用条件安装在层压板上。
把非敲落孔的电缆孔打开,如果是敲落孔,把其中的两个打开,基座和盖子的固定螺钉用表6规定的扭紧力距的三分之二加以固定。
安装试品,使冲击点能落在通过心轴轴线的垂直平面内,使冲击部件从如下高度落下:
a.对于操作部件(例如手柄或旋钮)为15cm;
b.对于试品外壳为20cm。
每个试品承受10次撞击,其中2次施加到操作部件上,其余几次均匀地分布在试品上。
下落部件高度是指冲击部件从释放点下降到冲击点的垂直距离。
其中一次冲击施加在操作部件上,把试品绕垂直轴尽可能旋转一个角度(但不超过60°),然后每边承受一次冲击。另两次是在前两次冲击之间的近似中间位置。其余5次冲击是在试品绕它的垂直于层压板的轴线转过90°后,以相同的方法进行。
如有电缆进线孔或敲落孔,试品的安装应使两组冲击点连线离开进线孔尽可能等距离。
试验后,盖子、操作部件绝缘材料的衬里、隔板等部件应无影响漏电保护器继续使用的碎裂等损坏现象,允许有小块碎片下落或零件有小的凹痕和裂缝,但不能使带电部件易于触及,并不使电气间隙和爬电距离降到低于规定要求。并对漏电保护器的一极突然通以1.25I△n的漏电电流,漏电保护器应能分断,试验时不测量分断时间,但对延时型漏电保护器要测量分断时间,并应在规定的延时时间加0.2s内分断。
8.14 验证可靠性
8.14.1 28周期通电试验
8.14.1.1 试验方法
漏电保护器按正常使用条件安装在一块涂有无光泽黑漆,厚约20mm的层压板上,进线端和出线端连接主回路温升试验时所规定的导线。
漏电保护器周围环境温度约30~40℃。
在任何合适的电压下对漏电保护器通以额定电流 In ,进行28周期通电试验,每个周期包括21h通电流和3h不通电流,试验过程中不操作漏电保护器,而用一个辅助开关来接通和分断电流。
对于四极漏电保护器,只对三个相线极通以额定电流 In 进行试验。
8.14.1.2 试验要求
在最后21h通电周期结束时,用热电偶测量接线端子温升,应不超过7.2.4的规定。
然后,不通电流使漏电保护器冷却至室温,接着在一极突然施加1.25I△n的漏电电流,漏电保护器应在表1或表2对I△n规定的时间内分断,延时型漏电保护器应在规定的延时时间加0.2s内分断。
8.14.2 湿热可靠性试验
8.14.2.1 试验方法
试验方法和环境条件与8.7.1湿热试验的试验方法和环境条件相同,但试验严酷等级如下:
高温温度55℃,试验周期分6、14、28天三种,由具体产品技术条件选定。
8.14.2.2 恢复
在试验结束后,切断加温加湿电源,打开试验箱(室)门,使试品在箱内恢复到大气环境条件,然后进行检测。
8.14.2.3 最后检测
漏电保护器一极突然通以1.25
的漏电电流,漏电保护器应能断开,试验时不测量分断时间,但对延时型漏电保护器要测量分断时间,并应在规定的延时时间加0.2s内分断。
8.15 验证抗电磁干扰性能
采用电子元件的漏电保护器,按GB998—82中第12章的规定进行抗干扰度试验。试验可以在常温下进行,试验时,漏电保护器应同时在电源侧接线端子上加额定电压,并通以额定漏电不动作电流
,试验过程中漏电保护器应不动作。
9 检验规则
9.1 检查和试验
漏电保护器的检查和试验主要分以下几种:
a.型式试验;
b.定期试验;
c.出厂试验:出厂试验分常规试验和出厂抽样试验。
9.2 型式试验
型式试验的目的是验证给定型式的漏电保护器的设计和制造性能是否全面符合本标准以及具体产品技术条件的要求。
型式试验是新产品研制单位或新试制投产的单位所必须进行的试验:型式试验只需要进行一次。但在生产过程中,零部件结构、制造工艺以及使用的原材料有更改时,如这些更改可能影响漏电保护器的工作性能,则应对型式试验的有关项目(或顺序)进行试验。
型式试验的项目列于表11,型式试验顺序及试品数量由具体产品技术条件规定。
表11 型式试验项目表
|
试 验 |
条 款 |
|
验证机械结构 |
8.2 |
|
验证动作特性 |
8.3 |
|
验证试验装置的性能 |
8.4 |
|
验证辅助电源中断时漏电保护器的性能* |
8.5 |
|
验证温升 |
8.6 |
|
验证绝缘电阻和介电性能 |
8.7 |
|
验证在短路条件下漏电保护器的工作性能 |
8.8 |
|
验证过电流保护特性** |
8.9 |
|
验证主电路中不导致误动作的过电流极限值 |
8.10 |
|
验证冲击电压作用下防止误动作的性能*** |
8.11 |
|
验证机械和电气寿命 |
8.12 |
|
验证耐机械冲击振动性能 |
8.13 |
|
验证漏电保护器的可靠性 |
8.14 |
|
验证抗电磁干扰性能**** |
8.15 |
* 该项试验仅适用于需要辅助电源的漏电保护器。
** 该项试验仅适用于带过电流保护的漏电保护器。
*** 该项试验仅适用于脉冲电压不动作型漏电保护器。
**** 该项试验仅适用于带电子元件的漏电保护器。
9.3 定期试验
当产品型式试验合格并进入稳定生产阶段后,为检查产品质量,应进行定期抽查试验(简称定期试验),具体产品技术条件应规定定期试验的项目(或顺序)及试品数量,定期试验每2~3年进行一次。
9.4 出厂试验
出厂试验应包括以下两种试验:
9.4.1 常规试验
常规试验是指产品出厂前制造厂必须在逐台产品上进行的试验和检查,其的是检查材料、工艺、装配上的缺陷。
常规试验可以在型式试验相同的条件下或经过验证认为是等效的条件下进行,并可采用等效或快速试验方法,常规试验的项目见附录A,等效试验方法和快速试验方法应在具体产品技术条件或有关的技术文件中规定。
9.4.2 出厂抽样试验
出厂抽样试验是指产品正式出厂前,制造厂所必须进行的抽样检查和试验。漏电保护器的出厂抽样检查和试验项目以及抽样的方法应在具体产品技术条件或有关技术文件中规定。
10 标志、包装、运输和贮存
10.1 标志
10.1.1 标志的内容
每台漏电保护器必须在清晰易见的表面用不易消失的方法标志下列内容。标志不应位于螺钉、可拆卸的垫圈或其他可拆卸的零件上。
a.制造厂名称或商标;
b.型号名称(对延时型和脉冲电压不动作型应在名称中标明);
c.产品编号或制造日期;
d.额定电压;
e.额定频率;
f.额定电流;
g.额定漏电动作电流;
h.额定漏电不动作电流(当额定漏电不动作电流与本标准规定的优选值不同时);
i.分断时间(可以只标志在额定漏电动作电流
时的分断时间);
j.延时时间(对延时型漏电保护器);
k.额定短路接通分断能力;
l.额定限制短路电流(如果适用时),这时还应根据5.4的规定标出匹配的短路保护电器或短路保护电器的性能;
m.使用位置(如有必要时);
n.辅助电源的类型,辅助电源额定电压(对需要辅助电源的漏电保护器应标明);
o.安装类别和污染等级。
如果对于小型漏电保护器,要标志上述全部内容有困难时,至少应在漏电保护器安装后清晰易见的正面标志f.和g.两项,而a.、b.、d.、i.和k.项可以标志在漏电保护器的侧面,但在安装前必须看得见,其余内容可以写入制造厂随产品同时提供的样本或产品使用说明书中。
在产品的使用说明书中必须写明,漏电保护器对同时接触被保护电路两线所引起的触电危险,不能进行保护。
如果必须区别电源进出线端时,应用文字或符号标明(例如在接线端附近标志“电源”、“负载”)。
连接中性极的接线端和试验装置的操作按钮,应用文字或符号标明。
对于二极以上的漏电保护器,除非接线方法不会搞错,应该提供接线图。
对具有可开闭或不可开闭的中性极的漏电保护器应该提供内部电路的示意图。
10.1.2 为了简化标志,除了可以采用第3章规定的符号外,在标志中还可以采用下列简化符号:
安培 A
伏特 V
交流 ~
直流 —
保护导线接线端子
电源接线端子 ↓(指向漏电保护器的箭头)
注:电源接线端子也可以用编号1、3、5、7来表示。
负载接线端子↓(离开漏电保护器的箭头)
注:负载接线端子也可以用编号2、4、6、8来表示。
中性极接线端子 N
试验装置的操作按钮 T
额定接通分断能力可在长方形线框内用不带符号A(安培)的安培数表示。
额定电流、额定电压和额定短路接通分断能力可以按下列形式标志:
16A
380V
或者
即表示额定电压380V,额定电流16A,额定接通分断能力3000A的漏电保护器。
10.2 包装
10.2.1 漏电保护器的包装必须能防止其运输时受到损坏,包装箱内应有产品合格证、使用说明书及装箱单。
10.2.2 漏电保护器包装的标志应清楚整齐,并保证不因运输或贮存较久而模湖不清,标志一般应包括下列内容:
a.制造厂名称或商标;
b.产品名称、型号;
c.产品数量;
d.包装箱的外形尺寸及毛重;
e.收货单位名称和地址;
f.标志“电器”、“小心轻放”、“切勿淋雨”、“切勿受潮”、“向上”和包装年月等字样或标志。
10.3 运输和贮存
漏电保护器的运输和贮存应符合GB 1497—85中10.5的规定。
附 录 A
常 规 试 验
(补 充 件)
本附录规定的试验是指产品在出厂前制造厂必须在逐台产品上进行的试验项目和检查项目,其目的是检查产品在材料、工艺和装配上的缺陷,以确保产品的安全使用和可靠运行。
A.1 本附录规定的试验包括以下几个项目:
a.外观检查及手动操作试验;
b.动作特性试验;
c.试验装置的性能试验;
d.过电流保护特性试验(适用时);
e.工频耐压试验。
A.2 试验方法
A.2.1 外观检查及手动操作试验
检查漏电保护器的外观质量、铭牌标志、装配的零件是否符合产品图纸及关技术文件的要求。通过手动操作试验检查漏电保护器的操作机构,漏电保护器应能可靠地闭合和断开,机构操作灵活,无卡死和滑扣现象,动触头位置与操作部件或指示装置的指示位置一致。
A.2.2 动作特性试验
漏电保护器按正常使用条件安装,对漏电保护器的一极施加漏电电流,电流从小于0.2
逐渐增加至
,测量漏电保护器动作时的漏电电流值,漏电保护器应在
和
之间动作。该试验至少对漏电保护器的每极进行5次。试验可以在任何合适的电压下和环境温度下进行,但对漏电动作电流随环境温度变化有波动的漏电保护器,制造厂在常规试验时,可对试验电流值作修正,以保证漏电保护器在允许使用的环境温度范围内均能符合上述要求。修正系数由制造厂在有关的技术文件中规定。
A.2.3 试验装置性能试验
漏电保护器按正常使用条件安装和接线,施加额定电压,操作试验装置10次,漏电保护器均应能可靠动作,试验装置的操作按钮应能自动复位。
A.2.4 过电流保护特性试验(适用时)
为缩短试验时间和简化试验方法,进行本试验时可以采用简化的等效试验方法。等效试验合格的产品如按8.9进行校核时必须符合5.3的规定。
等效试验方法由制造厂在产品技术文件中规定。
A.2.5 工频耐压试验
常规试验的工频耐压试验的试验电压和试验方法同7.2.5.2和8.7.3,但耐压试验前不进行湿热试验,试验时间可以缩短至1s。
注:对采用电子元件的漏电保护器,只在主触头闭合和断开时,对所有各极连在一起与框架之间进行试验,其余部位的工频耐压试验在抽样试验时进行。
_______________________
附加说明:
本标准由中华人民共和国劳动人事部、水利电力部、机械工业部提出。
本标准由全国电气安全标准化技术委员会归口。
本标准由负责起草单位机械工业部上海电器科学研究所解释。
本标准主要起草人沈志达、周积刚、滕松林、顾月英、沈锡荣。