中华人民共和国电力行业标准
发电机定子绕组环氧粉云母绝缘老化鉴定导则 DL/T 492-92
中华人民共和国能源部1992-09-24批准 1993-01-01实施
1 总则
1.1 概述
发电机定子绕组绝缘在正常运行下,由于受电、热、机械及化学等因素的长期作用,电气和机械强度将普遍降低,加之发电机工艺存在先天性的缺陷,不可避免地会产生种种绝缘故障。当发电机定子绕组绝缘出现老化或存在工艺缺陷时,通过鉴定试验对定子绝缘状况可做出正确判断。
1.2 适用范围
本标准适用于环氧粉云母的发电机、调相机定子绕组绝缘的老化鉴定。
1.3 试验周期
运行年久(一般累计运行时间在20年以上)及运行或预防性试验中发生绝缘击穿时,应进行绝缘老化鉴定试验。新机投产后第一次大修时,可对定子绕组绝缘做非破坏性试验,以便今后对比分析。
2 鉴定程序
鉴定试验时,应首先做整相绕组绝缘鉴定试验,一般可在停机后热状态下进行,若运行或检修中出现绝缘击穿,同时整相绕组试验不合格者,应做单根线棒的抽样试验。
单根线棒抽样试验的数量为:对于汽轮发电机一般不应少于线棒总数的4%~5%;对于水轮发电机一般不应少于线棒总数的1%~2%。但选取的根数一般不少于6根,选取的部位应以上层线棒为主,并考虑线棒的不同运行电位。
进行绝缘老化鉴定时,同时应对发电机过负荷和超温运行时间、历次事故原因及处理情况,历次检修中发现的问题及试验情况等进行综合分析,以对绝缘运行状况作出评定。
凡需要全部更换绝缘时,应由电力试验研究所提出鉴定报告,报主管省电力局(或电网局)审批,其中容量为100MW及以上的机组还应报能源部电力司备案。
3 判断标准
当发电机(或调相机)定子绕组绝缘老化程度达到如下各项状况时,应考虑处理或更换绝缘,其方式包括局部绝缘处理、局部线棒更换及全部线棒更换。
a.累计运行时间一般应超过30年(制造工艺不良者,可以适当缩短时间)。
b.运行中或预防性试验中,多次发生绝缘击穿故障,甚至缩短试验周期,降低试验标准,仍不能保证安全运行。
c.外观和解剖检查时,发现绝缘分层发空严重、固化不良、失去整体性、局部放电严重及股间绝缘破坏等老化现象。
d.鉴定试验结果与历次试验结果相比,出现异常并超出表1中规定。
4 鉴定项目和标准
同步发电机、调相机定子绕组环氧粉云母绝缘老化鉴定项目和标准见表1。
表1 同步发电机、调相机定子绕组环氧粉云母绝缘老化鉴定项目和标准
|
项 目 |
标 准 |
说 明 |
|||||
|
测量整相绕组(或分支)及单根线棒的1gδ值 |
1.整相绕组(或分支)的Δtgδ值和tgδn值大于或等于下列值: |
1.绝缘在不受潮状态下进行试验 2.槽外测量单个经棒tgδ值时,线棒两端应加屏蔽环,可在环境温度下试验 3.整组绕组的Δtgδ值达到3%~4%时,应加强监视 4.电晕严重的机组(包括无防晕处理的机组),Δtgδ和Δtgδn等值有时会超出表中正常值,鉴定时应注意,不要和正常老化机组混淆 |
|||||
|
定子电压等级(kV) |
Δtgδ(%) |
tgδn(%) |
|||||
|
6~15.75 |
6 |
7 |
|||||
|
注:Δtgδ值是指额定电压Un下的tgδ和起始游离电压下的tgδ0的差值 2.单根线棒的Δtgδ值和tgδn值大于或等于下列值: |
|||||||
|
定子电压等级(kV) |
Δtgδ(%) |
tgδn(%) |
|||||
|
相邻0.2Un电压间隔下的最大差值 |
0.8Un和0.2Un电压下的差值 |
在Un电压下 |
|||||
|
6~15.75 |
2 |
3 |
5 |
||||
|
注:相邻0.2Un电压间隔下的最大差值,即1.0Un和0.8Un、0.8Un和0.6Un、0.6Un和0.4Un及0.4Un和0.2Un下最大的tgδ的差值 |
|||||||
|
测量整相绕组(或分支)及单根线棒的电容增加率 |
1.整相绕组(或分支)的电容增加率大于或等于下列值: |
1.绝缘在不受潮状态下进行测量 2.电容增加率用下式计算:
式中:Cn——额定电压下的电 容量 C0——起始游离电压下的电容值 |
|||||
|
定子电压等级(kV) |
电容增加率(%) |
||||||
|
6~15.75 |
8 |
||||||
|
2.单根线棒的电容增加率大于和等于下列值: |
|||||||
|
定子电压等级(kV) |
电容增加率(%) |
||||||
|
6~15.75 |
10 |
||||||
|
|
|||||||
|
测量整相绕组(或分支)及单根线棒的局部放电量 |
整相绕组和单根线棒的局部放电量大于或等于下列值: |
1.定子绕组端部表面脏污或受潮时,会出现局部放电量偏高现象 2.局部放电量高达(3~4)×10-8C时,应引起高度重视并注意历年变化 |
|||||
|
定子电压等级(kV) |
在试验电压 |
||||||
|
6~15.75 |
1×10-8 |
||||||
|
|
|||||||
|
整相绕组(或分支)及单根线棒的介电强度试验 |
达不到部颁电气设备预防性试验规程的有关规定 |
|
|||||
|
|
|
|
|
|
|
|
|
5 测量方法
5.1 局部放电量测量
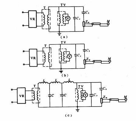
5.1.1 基本测量回路(见图1)

图1 局部放电量测量的基本回路图
(a)测量阻抗与耦合电容串联(适用于整相绕组测量);
(b)测量阻抗与试品串联(适用于单根线棒测量);
(c)加入高压试波器的试验回路(适用于有干扰的场所)
—耦合电容器(500~2000pF);
—试品电容;
C—滤波电容器(1000~2000pF);V—交流电压表;
L—滤波电感(几十至几百毫亨);
—测量阻抗;
M—测量装置;TV—测量用的电压互感器;
T—试验变压器;VR—调压器
5.1.2 试验准备
a.为了识别外来的干扰信号,选用的局部放电仪应具有时间开窗、不同频道之放大器和由椭圆显示放电脉冲信号的功能。
b.选用的方波发生器之标准脉冲上升时间,不应大于0.1μs,衰减时间应在100~1000μs范围内选取。
c.测量阻抗调谐范围的中间值应与主回路电容值相匹配,即使测量阻抗规定的两端电容值乘积的平方根值应大体接近于
的值。
d.为了得到同期的椭圆扫描波形和稳定的放电脉冲,调压器输入电源和放大器电源应一致。
e.试验回路应采用单点接地方式,防止回路中多点接地之间流过电流,出现干扰电压。
5.2 介质损失角测量
5.2.1 槽外单根线棒用西林电桥测量时,应采用正接线方式,测量电极长度至少等于定子铁芯长度,线棒两端必须加屏蔽环,屏蔽环宽度约为线棒厚度的3倍,屏蔽环和电极之间的距离不大于线棒绝缘厚度,并剥去防晕层。当无条件剥去防晕层时,可将测量电极长度延伸到端部的防晕层末端,在末端外侧再加屏蔽环,以减少端部杂散电流对tgδ值的影响。
5.2.2 整相绕组或单根线棒的最高试验电压为Un,而单根线棒要求每间隔0.2Un测定tgδ值,求出1.0Un与0.8Un、0.8Un与0.6Un、0.6Un与0.4Un及0.4Un与 0.2Un下的tgδ的差值。
整相绕组之tgδ差值是指额定电压Un下的tgδn与起始游离电压下的tg
的差值。
____________________
附加说明:
本标准由中华人民共和国能源部电力司提出。
本标准由华北电力试验研究所归口并负责起草。
本标准主要起草人:冯复生、陈照样。