中华人民共和国国家标准
旋转电机噪声测定方法及限值 GB 10069.1-88
噪 声 工 程 测 定 方 法 代替 GB 2806-81
Measurement of airborne noise emitted by rotating electrical machinery and
the noise limits Engineering method for the measurement of airborne noise
中华人民共和国机械电子工业部1988-08-31 批准1989-07-01实施
本标准参照采用国际标准ISO 1680.1(1986)《声学——旋转电机辐射空气噪声的测定方法——第一部分:反射平面上自由场条件的工程法》。
1 主题内容与适用范围
本标准规定了单台旋转电机稳定运行时在空气中所辐射噪声的工程测试方法。
按本标准所规定的方法测定电机噪声,其A计权声功率极的标准偏差不大于2dB。
本标准适用于外形尺寸在长、宽、高三个方向上均不大于15m的单台电机在稳态运行时的噪声测定。
2 引用标准
GB3102.7 声学的量和单位
GB3241 声和振动分析用的1/1和1/3倍频程滤波器
GB3947 声学名词术语
GB3767 噪声源声功率级的测定 工程法及准工程法
GB3785 声级计的电、声性能及测试方法
GB4129 标准噪声源
GB6881 声学 噪声源声功率级的测定 混响室精密法和工程法
GB6882 声学 噪声源声功率级的测定 消声室和半消声室精密法
JJG176 声级计校准器试行检定规程
JJG188 声级计试行检定规程
3 测定项目
a.电机噪声的A计权声功率级;
b.电机噪声的1/1倍频程或1/3倍频程频谱分析(有要求时);
c.电机噪声的方向性指数(有要求时)。
4 测量仪器
4.1 仪器要求
测量仪器应采用符合GB3785规定的Ⅰ型或O型的声级计或准确度相当的其他声学仪器;同时还应备有符合GB3241规定的1/1倍频程或1/3倍频程滤波器。
测量仪器应按JJG 188及JJG 176的规定定期进行检定。
4.2 测量前后的校准
仪器在测量前后必须用精度不低于0.5dB的声级校准器进行校准。
5 电机的安装要求
5.1 弹性安装
对轴中心高H为400mm及以下的卧式电机或电机高度的一半为400mm及以下的立式电机,应安放在弹性垫上进行试验。
注:立式电机高度的一半系指立式安装的电机从顶端至地面高度(包括刚性过渡支架,见图1,3)的一半。此时,过渡支架的高度应尽可能小。
5.1.1 对轴中心高或电机高度的一半为250mm及以下的卧式或立式电机,其弹性支撑系统的压缩量δ应符合式(1)的要求:
(1)
式中
——电机放置后弹性系统的实际变形量,mm;
n——电机的转速,r/min;
——弹性材料线性范围系数,对乳胶海绵
=0.4;
z——弹性材料压缩前的自由高度,mm。
为保证弹性垫受压均匀,被试电机与弹性垫之间应放置有足够刚性的过渡板。电机底脚平面与水平面的轴向倾斜角度应不大于5°。
当刚性过渡板产生附加噪声时,必须设法消除附加噪声。所用措施应符合本条及第5.3条的要求。
5.1.2 对于轴中心高或高度的一半大于250mm但不超过400mm的卧式或立式电机,弹性垫可以不按式(1)的要求,而直接采用橡胶板作弹性垫(推荐用两块12mm厚、含胶量为70%的普通橡胶板相叠而成)。
5.2 刚性安装
对轴中心高或电机高度的一半超过400mm的卧式或立式电机,应采用刚性安装。此时,安装平台、基础和地基三者应刚性联结。
安装平台和基础应不产生附加噪声或与电机共振。
注:无底脚电机、上脚式电机,是以同一机座带底脚卧式电机(IMB3)的中心高作为其a中心高。
5.3 其他要求
测试场所的地面应为硬地坪,对声波有足够的反射,在任何情况下,电机的底脚应尽可能接近反射地坪,其底脚平面高于地平面的高度应不超过50mm;弹性垫的面积应不大于按基准体法投影面积的1.2倍〔见附录A(补充件)〕。
6 电机在测定时的状态
电机应在空载稳定运行状态下进行测定。此时直流电机的转速和电压应保持额定值(串励特性的电机仅需保证转速为额定值);对交流电机则应保证供电频率和电压为额定值。当用静止整流电源供电时,电源应符合有关标准的规定。
对多速电机或调速电机,应在噪声为最大的额定转速下进行测定。
同步发电机一般应在额定电压下作为同步电动机运行状态下进行测定;对无法作同步电动机运行的发电机,其测试方法应在该产品标准中规定。
对允许正反转运行的电机,应在产生最大噪声的那个转向下测定。
7 背景噪声的修正
当测试点频带或计权声级的背景噪声低于被试电机在该点测得的噪声在10dB以上时,测量值不作修正;在4~10dB时,应按表1修正(即测量值减去表中修正值);在4dB以下时,测量无效。
表1 背景噪声修正值 dB
|
电机运转时测得的噪声 级与背景噪声级之差 |
4 |
5 |
6 |
7 |
8 |
9 |
10 |
|
修正值K1 |
2.2 |
1.7 |
1.3 |
1.0 |
0.8 |
0.6 |
0.4 |
8 一个反射面上自由场或类半自由场的测量
8.1 测试环境声场条件的要求
一个反射面上的自由场为半自由场,一般指半消声室或室外硬地平面上无任何反射物的自由场。
对于无法进入消声室测试的电机,一般可在试验站或大房间等类似一个反射面上的自由场的类半自由场条件下测定;但测定结果必须进行反射声影响的修正,且声场条件还应符合下列要求:
a.具有坚硬、平坦的反射地面,其面积应大于被试电机测量面投影平面,各边超出的距离应不少于1m;
b.在测试区域内应无妨碍声扩散的一切障碍物;
c.反射地面的吸声系数应不超过0.06。
注:类半自由场为既非混响场又非半自由场,而测试方法属于半自由场的声学环境。
8.2 半球面法的测点配置
本方法适用于轴中心高或电机高度的一半为225mm及以下而电机长度(不包括轴伸长度)为中心高的3.5倍及以下的电机。测点一般为5点,其中第1至4测点的高度为250mm,测点的配置按图1的规定;测量半径r按下列情况决定:
a.对轴中心高或电机高度的一半为90mm及以下的电机,测量半径r为0.4m (图1a中R为0.31m),第5测点一般可以取消;
b.对轴中心高或电机高度的一半大于90mm、但不超过225mm的电机,测量半径r为1m(图1a和b中R=0.97m)。

图1 半球面法电机噪声测点分布图
(a)卧式电机;(b)立式电机
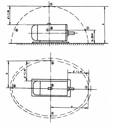
8.3 半椭球面法的测点配置
本方法适用于中心高大于90mm、但不超过225mm,而电机长度(不包括轴伸长度)大于中心高3.5倍的电机。测点一般为5点,其中第1至4测点的高度为250mm。测点与电机外壳的距离d为1m,测点的配置按图2的规定。

图2 半椭球面法电机噪声测点分布图
8.4 等效矩形包络面法的测点配置
本方法适用于轴中心高或电机高度的一半大于225mm的电机。测点的配置按图3和图4的规定,水平面测点高度为轴中心高(但应不低于250mm),测点与电机外壳的距离d为1m。对外形尺寸较大的电机,沿图4虚线上相邻测点的距离应等于和小于1m。

图3 等效矩形包络面法电机噪声测点分布图

图4 外形尺寸较大电机噪声测点分布图
8.5 电机外形尺寸的确定
对外形比较复杂的电机,其外形尺寸应用基准体法来确定〔见附录A(补充件)〕,各测点与电机的距离以测点与基准体外形的距离为准。
8.6 增加测点的原则
相邻两测点A计权声压级的差值为5dB及以上时,应在该两测点间的测量面上增加测点。
8.7 测点与反射面的距离
任何测点与反射面(除地面)的距离应不大于1m。
8.8 传声器方向的调整
当传声器正对气流方向而影响测量精度时,应将传声器移至与气流方向成45°的位置上配置测点,或在传声器上加标准的防风罩。在户外测试时风速应小于6m/s,且传声器应加防风罩。
8.9 平均声压级的计算
电机噪声的A计权平均声压级
应按式(2)计算,但在所有测点中任何相邻测点的声压级之差小于5dB时,平均声压级
可用算术平均值计算(如有异议,则以式(2)的计算结果为准)。
(2)
式中
——A计权平均声压级,dB(A);
LPi——第i点A计权声压级,dB(A);
Kli——第i点的背景噪声修正值(按表1);
N——测点数;
K2——环境反射修正值(在自由场中K2=0,在类自由场的普通声场中按附录B、C或D计算);
K3——温度、气压修正值,dB;按式(3)计算:
(3)
式中 t——测试环境的温度,℃;
p0——测试环境的气压,kPa(一般情况下K3为0,当K3≥0.5dB时才进行修正)。
8.10 频带平均声压级及A计权声压级计算
当背景噪声修正或环境反射修正需按频带进行时,应先按式(2)计算各种修正后的1/1倍频程或1/3倍频程平均声压级
,然后按式(4)计算A计权平均声压级:
(4)
式中
——总的A计权平均声压级,dB(A);
——第f个频带平均声压级,dB;
KAf——频带声压级A计权修正值(按表2);
M——频带数。
注:计算频带平均声压级
时按式(2)进行,但式(2)中的
、
应分别用
和
代换。
8.11 环境反射修正值计算
当电机噪声测定不在自由场或混响场进行时,对测试结果应作环境反射修正。环境反射修正K2应根据现场情况按附录B、C或D(补充件)计算。
表2 频带声压级A计权修正值KAf dB
|
频带中心频率 Hz |
1/3倍频程频带修正值 |
1/1倍频程频 带修正值 |
|
100 |
-19 |
-16 |
|
1251) |
-16 |
|
|
160 |
-13 |
|
|
200 |
-11 |
-9 |
|
2501) |
-9 |
|
|
315 |
-7 |
|
|
400 |
-5 |
-3 |
|
5001) |
-3 |
|
|
630 |
-2 |
|
|
800 |
-1 |
0 |
|
10001) |
0 |
|
|
1250 |
1 |
|
|
1600 |
1 |
1 |
|
20001) |
1 |
|
|
2500 |
1 |
|
|
3150 |
1 |
1 |
|
40001) |
1 |
|
|
5000 |
1 |
|
|
6300 |
0 |
-1 |
|
80001) |
-1 |
|
|
10000 |
-2 |
注:1)1/1倍频程频带中心频率。
8.12 声功率级的计算
电机噪声的A计权声功率极应按式(5)计算:
(5)
式中LW——A计权声功率级,dB(A);
——按式(2)或式(4)计算的A计权平均声压级,dB(A);
S——测量面面积,m2;根据8.2,8.3和8.4条的要求,按式(6)、(7)和(8)计算;
S0——基准面积,S0=1m2。
半球面法的测量面积为:
(6)
式中
——测量半径,m;按8.2条规定,
分别为0.4m和1m。
半椭球面法的测量面积为:
(7)
式中
,m
;
,m;
,m。
l1、l2、l3分别为基准体的长、宽、高,m;d为测量距离,m。
等效矩形包络面法的测量面积为:
(8)
9 混响室中电机噪声声功率级的测量
9.1 对混响室的要求
混响室应符合GB6881的规定,室内容积应不小于70m3,但不大于300m3,应大于被试电机体积的100倍。室内混响时间T应大于V/S(V为室内容积,m3;S为室内总表面积,m2)。
9.2 测点的配置
被试电机应按第5章的要求安装。电机表面与墙壁的距离应不小于1.5m。测点与墙面和天花板的距离应不小于1m,与声源的距离应不小于0.3V(V为混响室内容积,m3)。测点数应不小于3点,其相互间距离应不小于λ/2(λ为测量范围内最低有效频率的波长)或0.5m。
对噪声频谱有突出纯音成分或窄频带成分的电机,不采用混响室法作测定。
9.3 混响室中噪声的测定结果计算
在混响室内测定时,电机的声功率级可用直接法或比较法计算。
9.3.1 直接法
频带声功率级按式(9)计算:
(9)
式中
——频带声功率级,dB;
——频带平均声压级,dB;按式(2)计算,但不包括
;
T——混响室的混响时间,s,T0=1s;
V——混响室内的容积,m3;V0=1m3;
λ——与T相应的中心频率波长,m;
S——混响室内总表面积,m2;
——大气压力,kPa;
KAf——频带声压级A计权修正值(按表2)。
A计权声功率级按式(10)计算:
(10)
式中 LW——A计权声功率级,dB(A);
LWf——第f个频带A计权声功率级,dB(A);
M——频带数。
9.3.2 比较法
频带声功率级按式(11)计算:
(11)
式中 LWrf——标准声源A计权频带声功率级标定值,dB(A);
LWf——频带声功率级,dB(A);
——在混响室中测得的电机平均A计权频带声级,dB(A);
——标准声源在混响室中测得的平均A计权频带声级,dB(A)。
由式(11)计算出A计权频带声功率级LWf后,应按式(10)计算A计权声功率级。当被试电机无突出频率成分时,则A计权声功率级可直接按
计算。
10 电机噪声方向性指数的确定
在半自由场中,当电机测量面上某方向的声压级为
,该测量面上的平均声压级为
,则电机噪声的方向性指数G(dB)为:
在全自由场中,电机噪声的方向性指数G(dB):
11 试验报告
试验报告应包括以下内容:
a.被试电机型号、额定功率、额定转速;
b.安装测试条件;
c.环境条件说明;
d.电机外形尺寸;
e.电机制造厂厂名;
f.出品编号;
g.测点布置图;
h.测量仪器的型号和编号;
i.测试人员及日期。
通过测试数据处理,得出A计权声压级(注明测试距离)和A计权声功率级的数值。在有要求时还应提供电机噪声的频谱分析图和(或)方向性指数。
附 录 A
电机基准体外形的确定
(补充件)
A1 在电机噪声测试中,为了合理地确定测试距离,需将电机外形进行规范化地简化,简化后的假想体称为基准体。基准体是环绕电机周围的最小直角六面体(包括反射平面的一面)。对于形状不规则的电机,如果突出部分为不可忽视的发声部分,则基准体应包括这些部分(如图A1);如突出部分为次要发声部分,则不予考虑(如图A2)。
图A1、图A2中,由虚线部分的尺寸所决定的箱体即为基准体。

图A1 基准体外形尺寸的确定例1 图A2 基准体外形尺寸的确定例2
附 录 B
标准声源修正法
(补充件)
B1 在用标准声源对环境声场进行修正的几种方法(替代法、顶置法、并列法、旁置法)中,本标准推荐用替代法。按第8章进行测试时,环境反射修正值K2(dB)按式(B1)计算:
(B1)
式中 LWr——标准声源在电机测试地点所测得的A计权声功率级或频带平均声压级,dB(A);
LWro——标准声源在消声室中标定的A计权声功率级或频带平均声压级,dB(A)。
一般情况下,K2按A计权平均声压级直接计算修正值。在用替代法求取K2时,现场测定标准声源所用的测试面应与半消声室内标定时所用的测试面一样。
附 录 C
混 响 时 间法(补充件)
C1 在使用混响时间法时,测试场所必须有一定的声扩散条件,声源(电机)应尽量置于中间空旷处。对强吸声的房间,不应用此法求取K2值。
在有扩散的类半自由声场中测得房间混响时间后,环境反射修正值K2(dB)应按式(C1)计算:
(C1)
式中 S——测量面面积,m2;
A——房间的吸声量,m2;
A=0.16V/T(V为房间容积,m3;T为所测得的频带混响时间,s)。
由于混响时间T与频带有关,故K2是频带修正值。
一般情况下,可以用A计权的混响时间直接计算A计权的修正值。
当房间体积无法直接测量时,可用标准声法得到修正值K2,再按上式反算房间的等效容积。
混响时间法所修正的房间形状,其高度不应过矮,面积不应过于窄长,否则将会使测定结果带来较大偏差。
附 录 D
三 表 面 法
(补充件)
D1 当测试场所足够大时,采用增加测量面的三表面法进行环境的反射修正。对于按第8章所规定的测量面S上(即图中的S1的修正值K2,应按下列程序计算:
a.先求得各测量面间的平均声级差:
S2面与S1面的平均声级差按式(D1)计算:
(D1)
S3面与S1面的平均声级差按式(D2)计算:
(D2)
式中
、
、
分别为主测量面和辅助测量面S2和S3上的相应平均声级。
b.按式(D3)和(D4)求得两个修正系数:
(D3)
(D4)
式中 S1、S2、S3——分别为各测量面面积,m2;
M2——100.1ΔL(2);
M3——100.1ΔL(3)。
c.确定测量面S1上的环境反射修正值K2
取K(2)、K(3)两者绝对值中的最小值为S1面上的环境反射修正值K2。
在选择辅助测量面时,应保证ΔL(2)、ΔL(3)都大于2dB,且任何测试面上的测点离反射面(非地面)的最小距离不小于1m。

采用多表面法求取K3的示意图
____________________
附加说明:
本标准由全国旋转电机标准化技术委员会提出并归口。
本标准由上海电器科学研究所、广州电器科学研究所和哈尔滨大机研究所负责起草。
中华人民共和国国家标准
旋转电机噪声测定方法及限值 GB 10069.2-88
噪 声 简 易 测 定 方 法 代替 GB 2806-81
Measurement of airborne noise emitted by rotating electrical machinery
and the noise limitsSurvey method for the measurement of airborne noise
中华人民共和国机械电子工业部1988-08-31批准 1989-07-01实施
本标准参照采用国际标准ISO1680.2(1986)《声学——旋转电机辐射空气噪声的测定第二部分:简易法》和ISO3746(1980)《声学——噪声源的声功率级测定——简易法》。
1 主题内容与适用范围
本标准规定了标准偏差不大于4dB(对宽带频谱特性的电机)或不大于5dB(对具有离散频率成分的电机)的电机噪声简易测定方法,以A计权声功率级表达。
当测试条件不能满足GB10069.1的要求而测试方法精度可以降低(如在现场或无法单台运行而又需测定噪声的电机)时,均宜采用本标准规定的方法。
2 引用标准
GB3768 噪声源声功率级的测定 简易法
GB3785 声级计的电、声性能及测试方法
JJG176 声级计校准器试行检定规程
JJG188 声级计试行检定规程
3 测试项目
a.
A计权平均声压级
的测定;
b. A计权声功率级LW的测定。
4 测量仪器
4.1 仪器要求
仪器应采用符合GB3785规定的、其准确度不低于Ⅱ型的声级计或准确度相当的其他声学仪器。
仪器应按JJG 188及JJG 176的规定定期进行检定。
4.2 测量前后的校准
仪器在测量前后必须用精度不低于0.5dB的声级计校准器进行校准。
5 电机的安装要求
5.1 在电机使用现场测量时,无特殊安装要求。
5.2 在大厂房试验站或室外试验站测量时,应符合下列规定:
a.安装被测电机的平台应有足够的刚度和重量,以免产生附加的振动噪声;
b.被测电机应按正常使用情况装配完整。凡应密封的结构均应装上密封设施,以免机腔内强噪声直接向外扩散,增加被测电机的噪声值;
c.被测电机的安装场地,其反射面至少应延伸到测量面的垂直投影区1.5m以外,其他能吸声的杂物及影响声扩散的障碍物均应清除出测试现场。
6 电机在测定时的状态
6.1 在室内外试验站测量时应在空载运行状态下进行。
6.2 在电机使用现场测量时应在负载运行状态下进行。
7 背景噪声的修正
7.1 对任一测点,在被测电机未运转时与起动后正式测得的A计权声压级之差在10dB以上时,不必修正;差值在3~10dB时,按下表进行背景噪声的修正;当差值小于3dB时,测量结果无效,但可作为被测电机平均声压级(或声功率级)的上限参考值。
背景噪声修正 dB
|
电机运转时测得的噪声 级与背景噪声级之差 |
3 |
4 |
5 |
6 |
7 |
8 |
9 |
10 |
>10 |
|
修正值K1 |
3 |
2 |
2 |
1 |
1 |
1 |
0.5 |
0.5 |
0 |
7.2 若被试电机的拖动机噪声级(负载)小于被测电机噪声级10dB以上时,测定结果不必修正。否则,应按上表进行修正。
7.3 组合在一起的其他声源(如汽轮发电机组的汽轮机、卧式水轮发电机组的水轮机),可分别视为被测声源,按其基准体布点测量,然后从联轴器处分开,分段计算两段的平均声压级,按下面三种情况考虑:
a.两段平均声压级之差不大于3dB时,把电机段的平均声压级值减去3dB,作为电机的平均声压级;
b.电机段的平均声压级大于汽轮机(或水轮机)段的平均声压级3dB时,以电机段的平均声压级考核电机的噪声;
c.汽轮机(或水轮机)段的平均声压级大于电机段的平均声压级3dB时,所测结果不作为电机噪声的考核值。
8 测点布置
8.1 立式水轮发电机,可视其凸出盖板的形状确定测量面而布置测点,可供选择的测量面有多层圆柱面和等效圆筒面。
8.1.1 当凸出盖板有推力轴承、集电环、励磁机、受油器、永磁机等,且明显分成几个单元时(见图1),可用多层圆柱面分开布点测量,以盖板为基准,第一层在距基准面(盖板)高1m的空间平面上布点测量,依此直至最上一层,每层应保证在+Y、+X、-Y、-X处有四个基本测点。当基准体较大或相邻两测点声压级差值大于5dB时,应均布增加测点至8、12、16以至更多点;但在均布4(或8)个点所测得的声压级差值在2dB以下时,可不增加测点。
采用多层表面测定法时,面积的计算应先从顶上一层开始,按式(1)、(2)和(3)逐层计算(代号参见图1,单位:m2):
(1)
(2)
(3)
8.1.2 机组凸出盖板部分较高而每层半径大小相差小于0.2m时,如图2所示,可视为等效圆筒面布点测量,在基准体外1m,离盖板高度1m、2m,直至顶上一层,每层应保证在+Y、+X、-Y、-X处有四个基本测点。如其测得的声压级差值大于5dB,应均布增加测点至8、12、16以至更多点;如每层的四个基本测点测值之差小于2dB时,可不必增加测点。
采用等效圆筒测定法时,面积按式(4)计算(见图2):
(4)
式中 h ——凸出盖板基准体的总高度,m;
——等效圆筒基准体的半径(各单元后的平均值),m。
8.2 汽轮发电机、卧式水轮发电机,可在发电机侧分段布点测定,测量表面如图3。以发电机和主励磁机两个部分为基准体,在距基准体1m且高出离平台表面1m的沿线上布置测点,相邻测x点间距离应不大于1m。测试面面积按式(5)和(6)计算:
(5)
(6)
式中
、
、
分别为发电机的长、宽、高;
![]()
、
分别为主励磁机的宽、高;
为自发电机励磁机端至副励磁机尾端的长(辅机段总长,见图3)。
8.3 大型电机(单台)用简易法测定噪声时,测点布置及测量面S的计算可按GB10069.1中图4进行。

图1 多层圆柱面

图2 等效圆筒面

图3 旋转电机机组测量表面确定示意图
注:图中d=1m,各尺寸以m为单位。
9 电机平均声压级及声功率级的计算
9.1
测量面上的平均声压级
按式(7)计算。在所有测点中,任何相邻两点的声压级之差小于5dB时,允许用算术平均值计算
。如有异议,则以式(7)计算的结果为准。
(7)
式中
——A计权平均声压级,dB(A);基准值为20μPa;
——第i点背景噪声修正值(见表);
N——总测点数;
K2——环境反射修正值,dB;K2一般为0~7dB,如无条件测K2时,取K2=4。
9.2
被测表面的计权声功率级
按式(8)计算:
(8)
(9)
(10)
式中
——1单元的A计权声功率级,dB(A);
——N单元的A计权声功率级,dB(A);
——1单元的A计权平均声压级,dB(A);
——N单元的A计权平均声压级,dB(A);
S1——1m2;
S1——SN按第8章的有关规定计算。
10 测试记录及报告内容
a.被测电机的名称、型号及有关参数;
b.安装地点(试验站或安装使用现场);
c.运行状态;
d.测量仪器的名称、型号、编号和制造厂;
e.计算出A计权平均声压级和声功率级;
f.电机外形尺寸草图(基准体尺寸);
g.被测电机的有关参数(转速、功率、冷却方式等);
h.测试人员及日期。
________________
附加说明:
本标准由全国旋转电机标准化技术委员会提出并归口。
本标准由上海电器科学研究所、广州电器科学研究所和哈尔滨大机研究所负责起草。
中华人民共和国国家标准
旋转电机噪声测定方法及限值 GB 10069.3-88
噪 声 限 值 代替 GB 2806-81
Measurement of airborne noise emitted by rotating electrical machinery
and the noise limits Noise limits
中华人民共和国机械电子工业部1988-08-31 批准1989-07-01实施
本标准参照采用国际标准IEC 34—9《旋转电机 噪声限值》。
1 主题内容与适用范围
本标准规定了旋转电机在单台空载稳态运行时A计权声功率的噪声限值。
本标准适用于符合GB 755要求并没有采取任何专门降低噪声措施的各种类型的电机。
本标准的表1适用于转速不超过3 750r/min、功率从1至5 500kW的交直流电机。
本标准的表2和表3分别适用于小功率异步电动机和单相串励电动机。
2 引用标准
GB 10069.1 旋转电机噪声测定方法及限值 噪声工程测定方法
GB 10069.2 旋转电机噪声测定方法及限值 噪声简易测定方法
3 限值
表1、表2和表3所规定的是电机在单台空载稳态运行时A计权声功率级的噪声限值,无容差。
3.1 如需要考核电机在负载运行时的噪声(如串激电机),其限值应在该电机的标准中规定,并提出相应的测定方法。
3.2 电机噪声的考核应以A计权声功率级为准,但允许在产品样本中列出距电机外壳1m处的平均声压级数值。
4 测定方法
4.1 按本标准考核的电机应按GB 10069.1进行测定,并以所测的结果作为考核的依据。
4.2 当电机按GB 10069.2进行测定,其限值应在该电机的标准中规定。
表1 电机A计权声功率级LW噪声限值
|
额定转速 nN,r/min |
≤960 |
961~1320 |
1321~1900 |
1901~2360 |
2361~3150 |
3151~3750 |
||||||||||||
|
冷却方 式类型 |
IC01 IC11 IC21 |
IC41 IC51 IC61 |
IC31 ICW77 ICW87 ICW37 |
IC01 IC11 IC21 |
IC41 IC51 IC61 |
IC31 ICW77 ICW87 ICW37 A81 |
IC01 IC11 IC21 |
IC41 IC51 IC61 |
IC31 ICW77 ICW87 ICW37 A81 |
IC01 IC11 IC21 |
IC41 IC51 IC61 |
IC31 ICW77 ICW87 ICW37 A81 |
IC01 IC11 IC21 |
IC41 IC51 IC61 |
IC31 ICW77 ICW87 ICW37 A81 |
IC01 IC11 IC21 |
IC41 IC51 IC61 |
IC31 ICW77 ICW87 ICW37 A81 |
|
防护类 型形式 |
IP22 IP23 |
IP44~ IP55 |
IP44~ IP55 |
IP22 IP23 |
IP44~ IP55 |
IP44~ IP55 |
IP22 IP23 |
IP44~ IP55 |
IP44~ IP55 |
IP22 IP23 |
IP44~ IP55 |
IP44~ IP55 |
IP22 IP23 |
IP44~ IP55 |
IP44~ IP55 |
IP22 IP23 |
IP44~ IP55 |
IP44~ IP55 |
|
额定功率PN,kW或kVA |
噪声限值,dB(A) |
|||||||||||||||||
|
1~1.1 |
73 |
73 |
|
76 |
76 |
|
77 |
78 |
|
79 |
81 |
|
81 |
84 |
|
82 |
88 |
|
|
>1.1 ~2.2 |
74 |
74 |
78 |
78 |
81 |
82 |
83 |
85 |
85 |
88 |
86 |
91 |
||||||
|
>2.2 ~5.5 |
77 |
78 |
81 |
82 |
85 |
86 |
86 |
90 |
89 |
93 |
93 |
95 |
||||||
|
>5.5 ~11 |
81 |
82 |
85 |
85 |
88 |
90 |
90 |
93 |
93 |
97 |
97 |
98 |
||||||
|
>11 ~22 |
84 |
86 |
88 |
88 |
91 |
94 |
93 |
97 |
96 |
100 |
97 |
100 |
||||||
|
>22 ~37 |
87 |
90 |
91 |
91 |
94 |
98 |
96 |
100 |
99 |
102 |
101 |
102 |
||||||
|
>37 ~55 |
90 |
93 |
94 |
94 |
97 |
100 |
98 |
102 |
101 |
104 |
103 |
104 |
||||||
|
>55 ~110 |
93 |
96 |
97 |
98 |
100 |
103 |
101 |
104 |
103 |
106 |
105 |
106 |
||||||
|
>110 ~220 |
97 |
99 |
100 |
102 |
103 |
106 |
103 |
107 |
105 |
109 |
107 |
110 |
||||||
|
>220 ~550 |
99 |
102 |
98 |
103 |
105 |
100 |
106 |
108 |
102 |
106 |
109 |
102 |
107 |
111 |
102 |
110 |
113 |
105 |
|
>550 ~1100 |
101 |
105 |
100 |
106 |
108 |
103 |
108 |
111 |
104 |
108 |
111 |
104 |
109 |
112 |
104 |
111 |
116 |
106 |
|
>1100 ~2200 |
103 |
107 |
102 |
108 |
110 |
105 |
109 |
113 |
105 |
109 |
113 |
105 |
110 |
113 |
105 |
112 |
118 |
107 |
|
>2200 ~5500 |
105 |
109 |
104 |
110 |
112 |
106 |
110 |
115 |
106 |
111 |
115 |
107 |
112 |
115 |
107 |
114 |
120 |
109 |
表2 小功率异步电动机(IP44)A计权声功率级LW噪声限值
|
额定功率,PN,W |
6~50 |
>50~250 |
>250~750 |
>750~<1 000 |
|
同步转速nN,r/min |
噪声限值,dB(A) |
|||
|
1500 |
60 |
65 |
70 |
75 |
|
3000 |
65 |
70 |
75 |
80 |
表3 小功率单相串励电动机A计权声功率级LW噪声限值
|
额定功率PN,W |
<90 |
90~180 |
>180~370 |
>370 |
|
额定转速nN,r/min |
噪声限值,dB(A) |
|||
|
<4000 |
69 |
71 |
73 |
76 |
|
4000~<6000 |
71 |
73 |
75 |
78 |
|
6000~<8000 |
73 |
75 |
77 |
80 |
|
8000~<12000 |
75 |
77 |
79 |
82 |
|
12000~<18000 |
77 |
79 |
81 |
84 |
|
≥18000 |
79 |
81 |
83 |
86 |
_______________
附加说明:
本标准由全国旋转电机标准化技术委员会提出并归口。
本标准由上海电器科学研究所、广州电器科学研究所和哈尔滨大机研究所负责起草。