中华人民共和国国家标准
UDC 621.313
大电机振动测定方法 :534.83
GB 4832—84
Measuring method of vibration
for large electric machine
国家标准局1984-12-24发布 1985-05-01实施
1 适用范围
本标准适用于轴中心高630mm以上、转速为150~3600r/min的大、中型直流电动机,大型交流电机。
本标准不适用于立式水轮发电机及汽轮发电机。
2 测量值
转速为600r/min及以上的电机采用振动速度的最大均方根值(mm/s)表示;于600r/min的电机采用位移幅值(mm,双幅值)表示。
3 测量仪器
3.1 所用振动烈度测量仪器应经过国家计量部门检定,使用前应对整个测量系统各单元(包括传感器、振动烈度测量仪、记录及显示仪器等)进行标定,确定其精确度。
3.2 测量转速为600r/min及以上电机的振动烈度时,其振动烈度测量仪器的频率响应范围为10~1000Hz或以上,在其频率响应范围内的相对灵敏度以80Hz的相对灵敏度为基准,其他频率的相对灵敏度不超过+10%或-20%。
3.3 测量转速低于600r/min电机的振动烈度时,应采用低频传感器和低频振动烈度测量仪,并满足测量误差小于±10%的要求。
3.4 所用传感器与被测点的接触必须良好,并保证传感器安装后不影响被测部件的振动状态。
3.5 所用振动烈度测量仪器、仪表应按国家有关规定定期进行检定。
4 电机的安装方式
4.1 按本标准测量的电机必须是刚性安装。如果被测电机是直接放于平台上测量时,则要求安装平台和基础为刚性联接;如果被测电机是放在方箱(垫箱、垫块)上测量时,则要求方箱(垫箱、垫块)、平台、基础三者为刚性联接。
4.2 安装平台(或方箱、垫箱、垫块)和基础应不产生附加振动或与电机共振。试验前,在电机底脚上或在靠近座式轴承的底座上测得的水平或垂直方向的振动速度的最大均方根值不超过在邻近的轴承上沿同一测量方向测得的振动速度的最大均方根值的50%。
5 测量条件
5.1 测量点
测量电机的振动烈度的测量点定为6点。其测量点的位置和测量方向见图1、图2及图3。

图 1 测点布置

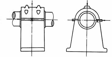
图 2 座式轴承
5.2 键
对于采用键联接传动的电机,测量时带半键,但必须采取有效的安全措施。
5.3 运行状态
5.3.1 被测电机应在额定转速、额定电压(串激特性电机除外)的空载状态下进行测试。
5.3.2 多速或变速电机应在其转速范围以内,具有最大振动烈度的转速状态下测量;对于具有正、反两个转动方向的电机,需在两个转向中具有最大振动烈度的那个转向状态下测量。
5.3.3 被测电机应在单机运行状态下测量。如果单机运行确有困难可采用柔性联接的拖动电机拖动。

图 3 端盖式轴承
6 考核方式
在所测的各点中,把测得的振动速度的最大均方根值或最大位移值(低于600r/ min时)规定为电机的振动烈度。
7 测试报告内容
测试报告要求写明:电机型号、额定转速、额定功率、产品编号、轴承类别、仪器型号、测量时间及地点、产品制造厂。
必要时,报告书中应注明振动烈度或位移幅值最大值的位置和方向,并附频谱图(有条件的单位)。
__________________
附加说明:
本标准由全国旋转电机标准化技术委员会提出。
本标准由哈尔滨大电机研究所归口并负责起草。
本标准主要起草人赵
,秦承俊。